Adjusting Tongue to Tractor Trailer Hitch

Clearance between ground and baler tongue can be increased by this hitching method. This is particularly convenient when baling very thick windrows.

To meet all tractor trailer hitch configurations, the tongue can be adjusted either at the articulation of the hitch plate or at the tongue base articulation.

IMPORTANT: Before adjusting the tongue, be sure that:

  • the tires inflation is correct.

  • the gate is completely closed.

1. Park tractor and baler on a level ground.

2. Detach baler from tractor.

3. Install a spirit level (A) on gate reinforcement (B).

4. Adjust baler in horizontal position using the spirit level and the jackstand.

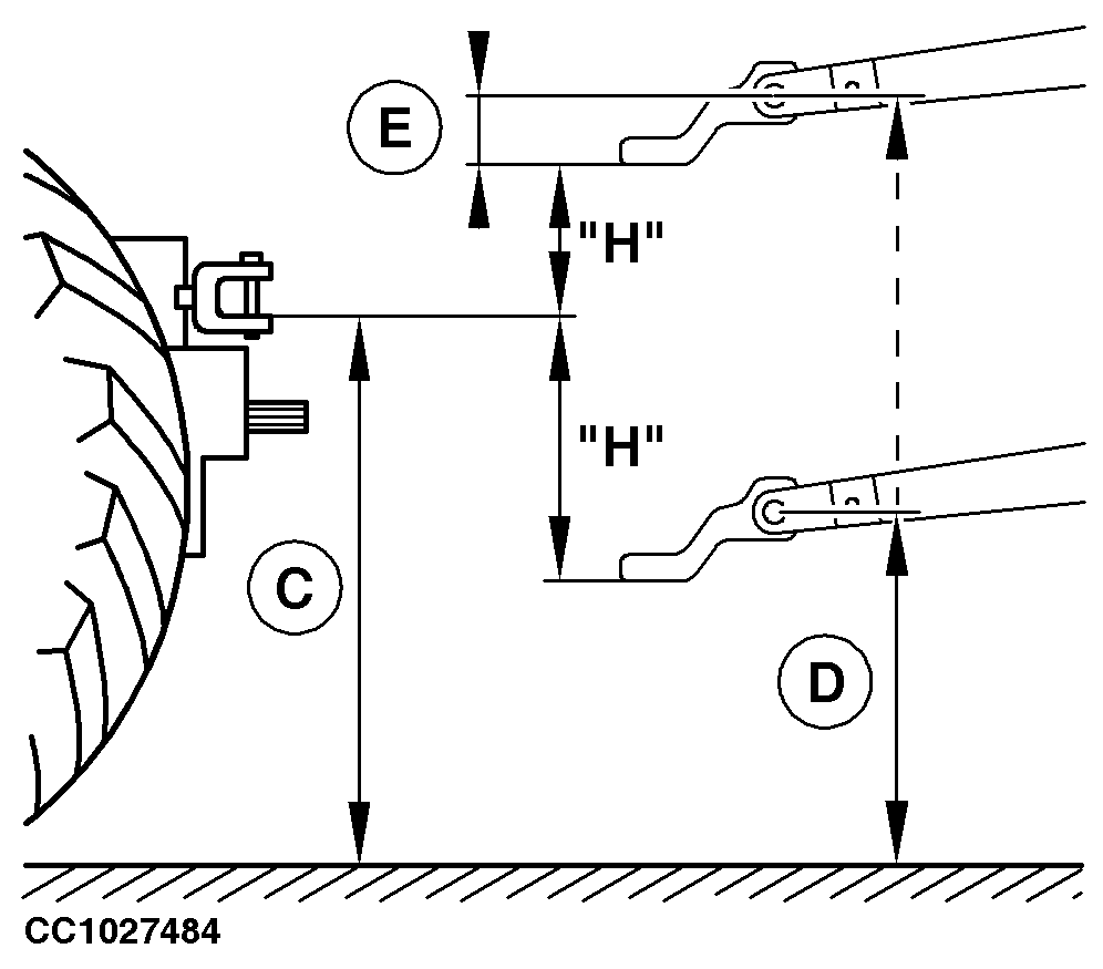
5. Measure distance (C).

6. Measure distance (D).

7. Calculate and record the value "H":

H = (D) - (E) - (C)


A-Spirit level
B-Gate reinforcement
C-Trailer hitch height
D-Hitch screw height
E-Hitch height correction
H-Distance

CC1028468

Except for MultiCrop Baler

CC1028573

MultiCrop Baler

CC1027484

OUCC006,00010F6 -19-15DEC06-1/4


NOTE: (E) is the correction for the hitch height.

Select the value (E) according the hitch type:

Specification

Hitch (F) Height Correction (E) -Height 122 mm (4.8 in.)
Hitch (G) Height Correction (E) -Height 122 mm (4.8 in.)
Hitch (H) Height Correction (E) -Height 26 mm (1 in.)
Hitch (I) Height Correction (E) -Height 22 mm (0.86 in.)

  • If H = 80 mm (3.15 in.), go to step 19.
  • If H > 80 mm (3.15 in.), continue.

8. Calculate and record the value "T":

T = H / 140 mm (5.5 in.)

T is the number of tongue frame teeth to jump. T must be rounded to the closer unit.

CC1027393


E-Hitch height correction
F-Angled hitch without ball joint
G-Angled hitch with ball joint
H-Straight hitch without ball joint
I-Straight hitch with ball joint

OUCC006,00010F6 -19-15DEC06-2/4


9. Remove shield (A) screws.

10. Remove hitch (D).

11. Scribe a mark between the frame and each tongue frame.

12. Remove lock nut (F) of left tongue frame (B).

13. Loosen nut (E).

14. Raise or lower tongue frame by "T" teeth, using the mark as a start point.

15. Tighten nut (E).

16. Repeat step 12 to 15 to adjust the right-hand tongue frame.

17. Check that the two tongue frames are at the same level.

18. Install hitch (D).

19. Set hitch (D) as horizontal as possible with baler attached to the tractor.

20. Tighten tongue frame fixing nuts (F), lock nuts (E) and hitch fixing screw (C) to specified torque:

Specification

Tongue Frame Fixing Nut -Torque 700 N·m (516 lb-ft)
Tongue Frame Lock Nut -Torque 300 N·m (221 lb-ft)
Hitch Fixing Screw -Torque 620 N·m (450 lb-ft)

CC1027485
CC1026420


A-Shield
B-Tongue frame
C-Hitch fixing screw
D-Hitch
E-Lock nut
F-Nut

OUCC006,00010F6 -19-15DEC06-3/4


NOTE: Make sure that all rings are engaged (not standing tip to tip) when tightening screw (C) and nuts (E)-(F).

IMPORTANT: Slowly and carefully perform a short test with baler attached to the tractor and check that there is absolutely no interference between tongue frame (B) and hook-up in short turns, as otherwise major damage on hook-up will occur.

21. Adjust bale discharging ramp. (See" Adjusting Bale Discharging Ramp" in "Operating the Baler- General Purposes" section.)

OUCC006,00010F6 -19-15DEC06-4/4