Unplugging Baler with Rotary Feeder

NOTE: Reversing rotary feeder function uses the same selective control valve as the pickup raise/lower control.

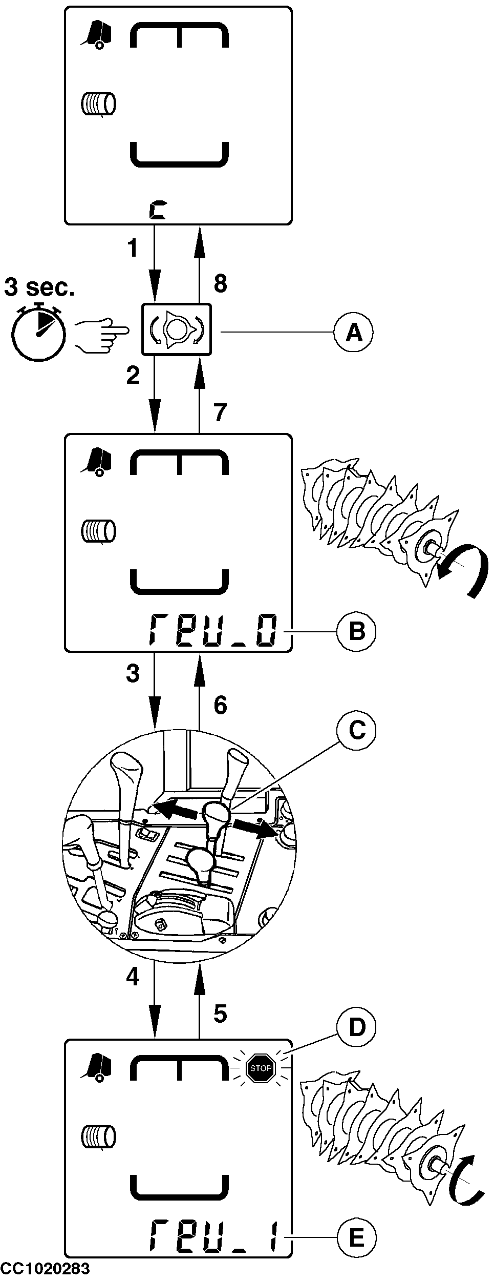
Whenever necessary to unplug the baler, reverse the rotary feeder drive.

1. Stop tractor.

2. Disengage the PTO. Press and hold "ROTARY FEEDER REVERSE" key (A) for about 3 seconds.

3. The monitor enters "Reversing Rotary feeder" function and a slow intermittent sound alarm is emitted while this function is selected. "REV 0" (B) is displayed to indicate that rotary feeder drive is not reversed.

4. Act on selective control valve lever (C) to reverse the baler gear box.

5. When the baler gear box is reversed, the stop indicator (D) flashes, "REV 1" (E) is displayed and a quick intermittent sound alarm is emitted.

Slowly engage the PTO at slow tractor idle in such a way that the rotary feeder will receive only one impulsive rotation movement. Impulsive movement means, NOT MORE THAN A HALF TURN OF ROTARY FEEDER PER IMPULSE. Failure to do so could result in material wraps and rotary feeder plugging.

6. When the baler is unplugged, disengage the PTO and act on selective control valve lever (C) to move the baler gear box in the normal operation.

7. "REV 0" (B) is displayed to indicate that the gear box is in normal operation. Put the selective control valve lever to neutral position.


A-Rotary feeder reverse key
B-Rotary feeder not reversed
C-Control valve lever
D-Stop indicator
E-Rotary feeder reversed

CC1020283

OUCC006,00011EC -19-28NOV06-1/2


8. Press "ROTARY FEEDER REVERSE" key (A) or another key to leave the "Reversing Rotary Feeder" function.

9. The monitor is back to normal operating mode.

IMPORTANT: The PTO must be disengaged to change the direction of the rotary feeder.

The baler gear box must be in normal operation to leave the "Reversing Rotary Feeder" function.

OUCC006,00011EC -19-28NOV06-2/2