Adjusting Rubber Roll Brake (Baler with CoverEdge Net Tying Device)

IMPORTANT: Before adjusting rubber roll brake, be sure that:

  • Counter-knife position is correctly adjusted. See "Adjusting Counter-Knife Position" in this section.

  • Net actuator position is correctly adjusted. See "Adjusting Net Actuator Position" in this section.

1. Check brake pad (B) adjustment as follow:

a. Fully retract net actuator (A).

NOTE: Rubber roll brake pad (B) is engaged when net actuator (A) is fully retracted.

b. Place suitable tool on rubber roll hexagonal shaft (D).

c. Check that resisting torque to turn shaft (D) clockwise is within specification:

Specification

Sheave -Torque Turn 70 ± 10 N·m 51 ± 7 lb-ft

2. Adjust brake pad (B) as follow:

a. Extend actuator (A) to middle position.

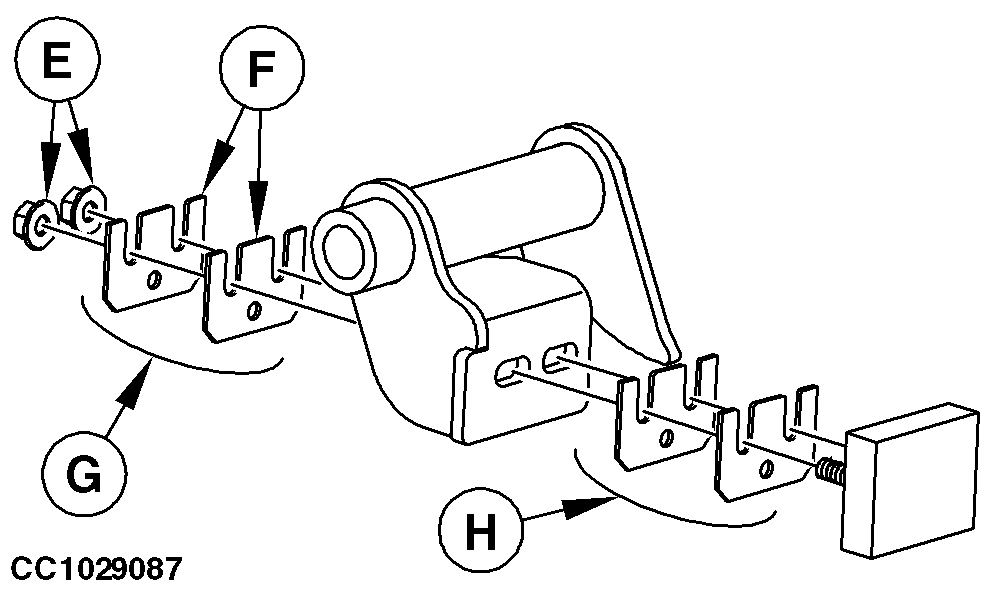
b. Loosen nuts (E).

c. Transfer one or two shims (F) from position (G) to position (H).

NOTE: Factory setting for rubber roll brake, is two shims (F) in position (H).

d. Tighten nuts (E) and check torque again. Go to step 1.

CC1028985
CC1029088
CC1029087


A-Net actuator
B-Brake pad
C-Rubber roll drive sheave
D-Rubber roll hex. shaft
E-Nuts
F-Shims
G-Storage position
H-Adjustment position

OUCC006,0001224 -19-02FEB07-1/2


If necessary, replace brake pad (B) and repeat procedure.

OUCC006,0001224 -19-02FEB07-2/2