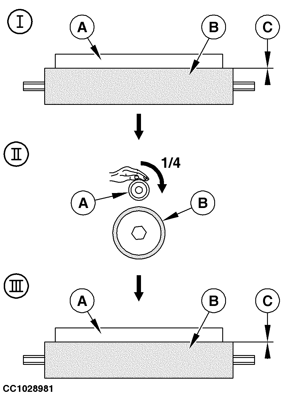
Checking Galvanized Roll Flatness (Baler with CoverEdge Net Tying Device)

1. Remove net roll.

2. Slightly close net tying cover to allow galvanized roll (A) to contact rubber roll (B).

3. Check contact (C) between galvanized roll (A) and rubber roll (B).

4. Open net tying cover.

5. Turn galvanized roll (A) a quarter turn by hand.

6. Slightly close net tying cover to allow galvanized roll (A) to contact rubber roll (B) and check contact (C) again.

If test is not OK, see your John Deere dealer.


A-Galvanized roll
B-Rubber roll
C-0 mm (0 in.)

CC1028981

OUCC006,0001229 -19-02FEB07-1/1