Adjusting Plastic Rollers (Baler with CoverEdge Net Tying Device)

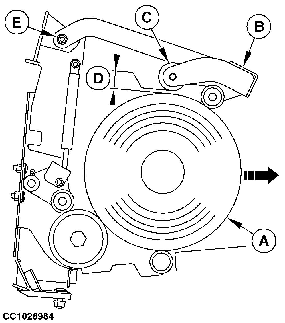
1. Position net roll (A) under plastic roller brackets (B), as shown. See "Loading Net Roll" in "Preparing the Baler" section.

2. Check that gap (D) between net roll (A) and plastic rollers (C) is within specification:

Specification

Net Roll to Plastic Rollers -Gap 4 ± 2 mm (0.16 ± 0.08 in.)

If necessary adjust gap (D) as follow:

a. Loosen nut (E) on both sides.

b. Adjust plastic roller bracket (B) to obtain gap (D).

c. Tighten nut (E) on both sides.


A-Net roll
B-Plastic rollers bracket
C-Plastic roller
D-Gap
E-Nut

CC1028983
CC1028984

OUCC006,0001231 -19-31JAN07-1/1