Adjusting Net Actuator Position (Baler with CoverEdge Net Tying Device)

IMPORTANT: Before adjusting net actuator position, be sure that counter-knife position is correctly adjusted. See "Adjusting Counter-Knife Position" in this section.

1. Remove spout (A).

2. Slightly extend net actuator (C).

3. Remove fixing screws (B).

4. Fully retract net actuator (C).


A-Spout
B-Fixing screws
C-Net actuator

CC1029104
CC1029105

OUCC006,0001250 -19-02FEB07-1/4


5. Manually pull net actuator (A) forward to position knife in contact with counter-knife.

6. Make a mark (B) as shown.


A-Net actuator
B-Mark

CC1029109

OUCC006,0001250 -19-02FEB07-2/4


7. Slightly extend net actuator (A).

8. Align actuator bracket (C) with mark (B) as shown in step (I).

9. Slide actuator bracket (C) forward, so that two holes are aligned as close as possible to the mark (B). See step (II).


A-Net actuator
B-Mark
C-Actuator bracket

CC1029110

OUCC006,0001250 -19-02FEB07-3/4


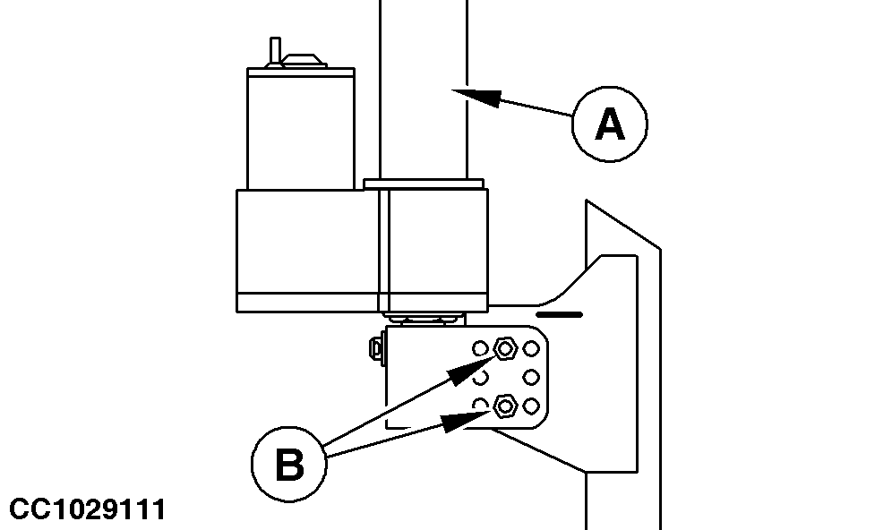
10. Reinstall and tighten fixing screws (B).

11. Fully retract net actuator (A).

12. Reinstall spout.

IMPORTANT: After adjusting net actuator position, always adjust belt tension. See "Adjusting Net Tying Drive Belt Tension" in this section.


A-Net actuator
B-Fixing screws

CC1029111

OUCC006,0001250 -19-02FEB07-4/4