Replacing Precutter Knives

causym CAUTION: DO NOT TAKE RISKS! To avoid injury or death by being cut by a knife, always close shut-off valve (B) before removing or replacing knives.

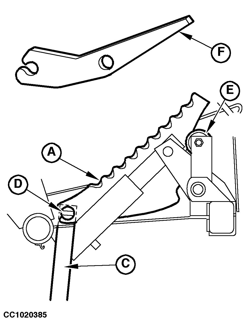
Each knife (A) can be separately removed and replaced. Proceed as follows:

1. Retract knives. (See "Retracting/Engaging Precutter knives" in "Operating the baler - General Purposes" and "Operating BaleTrak Control" Sections.)

2. Fully open the gate and secure it.

3. Pull the lever (C) out of its locking pin and lower it.

4. Knives can now easily be removed from the inside of the baler. Pull on knife (A) to remove it from bar (D) and nylon guide (E).

IMPORTANT: When a knife is no longer required, it is recommended to install the knife slot filler (F) instead. This will avoid crop accumulation at the hole provided by the missing knife.

5. To install a knife, simply insert knife (A) first in nylon guide (E), then place it on the bar (D).

6. Raise and secure lever (C) in its locking pin.

7. Lower the gate.

8. Open shut-off valve (B).


A-Knife
B-Shut-off valve
C-Lever
D-Bar
E-Guide
F-Knife slot filler

CC1020384
CC015280
CC1020385

OUCC006,0001265 -19-01FEB07-1/1