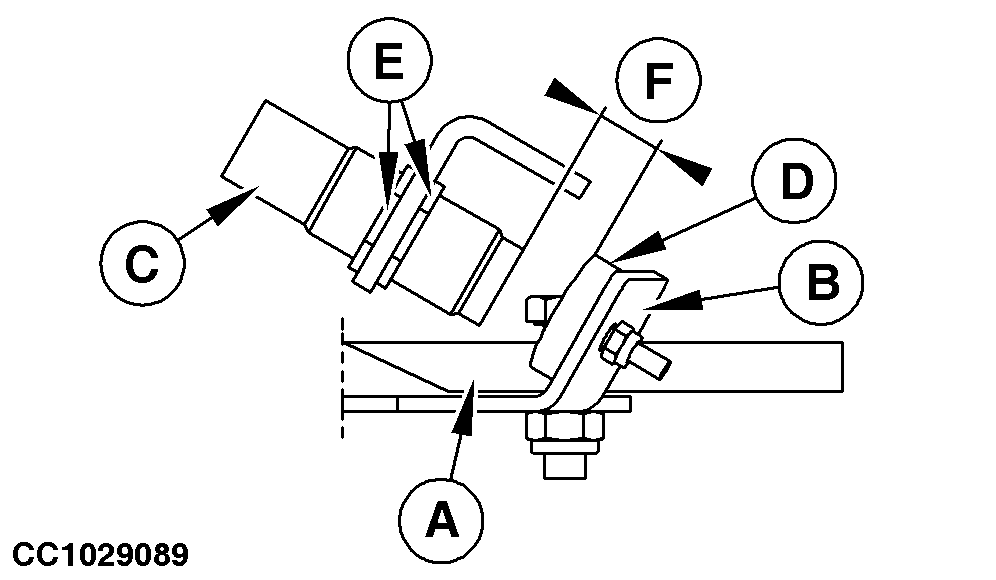
Adjusting Net Cut Sensor (Baler with CoverEdge™ Net Tying Device)

To adjust net cut sensor (C), proceed as follows:

1. Align net knife (A) and magnet support (B).

2. Check that distance (F) between sensor (C) and magnet (D) is within specification:

Specification

Net Cut Sensor to Magnet -Distance 12 mm (0.5 in.)

If necessary adjust sensor (C) as follows:

a. Loosen nuts (E) and slide sensor (C) until distance (F) is obtained.

b. Tighten nuts (E).

c. With BaleTrak ™ monitor, check sensor detection. See "Channel 012: Test of Net Cut Sensor" in "BaleTrak Monitor Service" section.

CC1029089


A-Knife
B-Magnet support
C-Sensor
D-Magnet
E-Nuts
F-Distance

CoverEdge is a trademark of Deere & Company
BaleTrak is a trademark of Deere & Company

OUCC006,00012F8 -19-26SEP07-1/1