Anschließen der Druckluftbremsen (wenn vorhanden)

WICHTIG: Die Farben an den Anschlußkupplungen beachten.

HINWEIS: Kupplungen und Farben entsprechen ISO 1728.

Vor dem Anschluß der Druckluftschläuche sicherstellen, daß alle Anschlüsse sauber sind. Die Anschlüsse mit den Staubkappen verschließen, sobald die Schläuche abgenommen worden sind.

Den gelben Schlauch an Anschluß (A) und dann den roten Schlauch an Anschluß (C) anschließen. Schläuche in umkehrter Reihenfolge abnehmen.

WICHTIG: Um unnötigen Verschleiß der Bremsen zu vermeiden, folgendes beachten:

  • Sicherstellen, daß die Druckschläuche angeschlossen sind.

  • Beim Bergabfahren den gleichen Gang wählen wie beim Bergauffahren.

  • Die Druckluftanhängerbremse in regelmäßigen Zeitabständen auf korrekte Arbeitsweise prüfen.

HINWEIS: Wenn die Bremsschläuche vom Traktorbremssystem getrennt werden, rasten die Bremsen der Presse automatisch ein (siehe "Parken der Maschine" im Abschnitt "Transport").

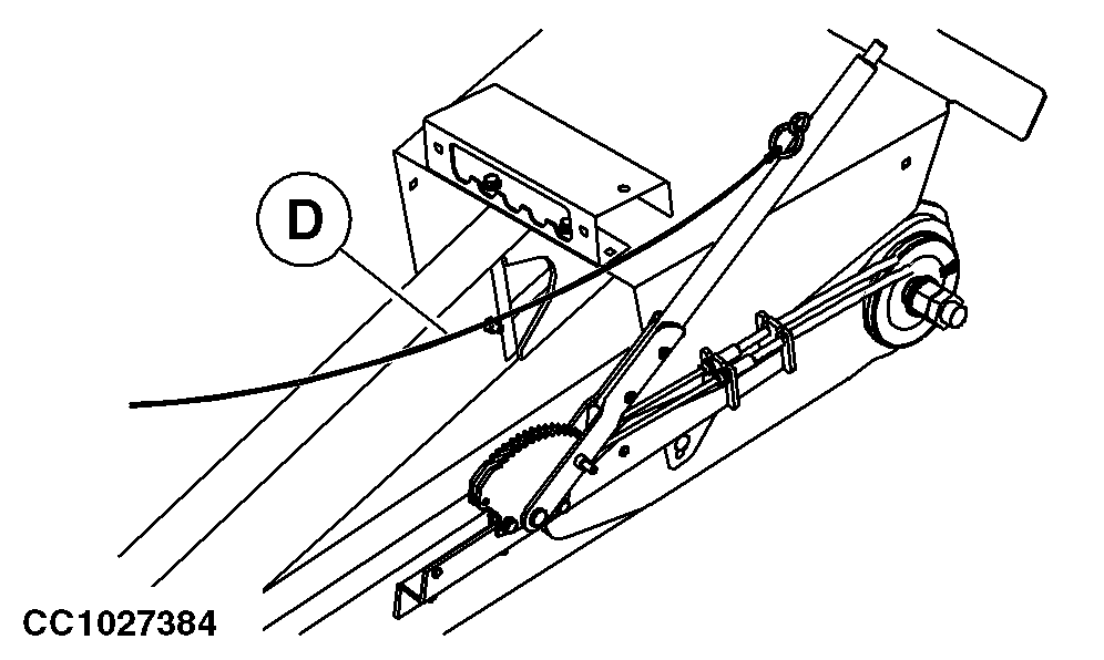
Sicherheitsseil (D) am Traktor befestigen. Das Sicherheitsseil betätigt die Feststellbremse, falls sich die Presse versehentlich vom Traktor löst.

LX1031730
CC1027384


A-Gelb (Zweileitungsbremse)
B-Schwarz (Einleitungsbremse)
C-Rot (Zweileitungsbremse, Anschluß)
D-Sicherheitsseil

OUCC006,0000E91 -29-19JUL05-1/1