Garnbindung einstellen

Garnabstand einstellen

Taste "Garn- oder Netzdichte" (A) drücken, um den Garnabstand/die Anzahl der Netzumwicklungen anzuzeigen. Der Abstand zwischen den Garnschlingen (B) wird fünf Sekunden lang angezeigt.

Während der Abstand zwischen den Schlingen angezeigt wird, die Plus- oder Minustaste drücken, um den Abstand im Bereich von 1 bis 15 cm (0,5 bis 6 in) einzustellen.

Der angezeigte Garnabstand wird nach fünf Sekunden gespeichert.

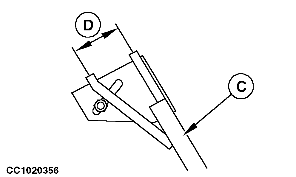
1. Doppelter Garnarm

Der angezeigte Garnabstand entspricht dem Abstand zwischen den Garnschlingen am Ballen.

2. Einfacher Garnarm (doppelte Garnbindung)

Der auf dem Monitor angezeigte Garnabstand muß dem Abstand (D) zwischen den beiden Garnarmrohren des Garnarms (C) entsprechen (siehe "Abstand der Garnarmrohre einstellen" im Abschnitt "Betrieb der Presse - Allgemeines").

3. Einfacher Garnarm (einfache Garnbindung)

Der angezeigte Garnabstand bezieht sich auf doppelte Garnbindung. Wenn nur ein Garn verwendet wird, ist der tatsächliche Garnabstand doppelt so groß wie der angezeigte Wert.


A-Taste "Garn- oder Netzdichte"
B-Abstand zwischen Garnschlingen
C-Garnarm
D-Abstand

CC1020276
CC1020356

OUCC006,00010F3 -29-28JUL06-1/7


Anzahl der Garnschlingen am Ballenanfang einstellen (Garnbindung mit doppeltem Garnarm)

Taste (A) "Anzahl der Garnschlingen am Ballenanfang" drücken. Die Anzahl der Garnschlingen am Ballenanfang (B) wird fünf Sekunden lang angezeigt.

Während die Anzahl der Garnschlingen am Ballenanfang angezeigt wird, die Plus- oder Minustaste drücken, um die Anzahl der Schlingen im Bereich von 0 bis 5 einzustellen.

Die Anzahl der Garnschlingen am Ballenanfang wird nach fünf Sekunden gespeichert.


A-Taste "Anzahl der Garnschlingen am Ballenanfang"
B-Anzahl der Garnschlingen am Ballenanfang

CC1028466

OUCC006,00010F3 -29-28JUL06-2/7


Anzahl der Garnschlingen am Ballenende einstellen (Garnbindung mit doppeltem Garnarm)

Taste (A) "Anzahl der Garnschlingen am Ballenende" drücken. Die Anzahl der Garnschlingen am Ballenende (B) wird fünf Sekunden lang angezeigt.

Während die Anzahl der Garnschlingen am Ballenende angezeigt wird, die Plus- oder Minustaste drücken, um die Anzahl der Schlingen im Bereich von 0,5 bis 5 einzustellen.

Die Anzahl der Garnschlingen am Ballenende wird nach fünf Sekunden gespeichert.


A-Taste "Anzahl der Garnschlingen am Ballenende"
B-Anzahl der Garnschlingen am Ballenende

CC1028467

OUCC006,00010F3 -29-28JUL06-3/7


Anzahl der Garnschlingen am Ballenanfang einstellen (Garnbindung mit einfachem Garnarm)

Taste (A) "Anzahl der Garnschlingen am Ballenanfang" drücken. Die Anzahl der Garnschlingen am Ballenanfang (B) wird fünf Sekunden lang angezeigt.

Während die Anzahl der Garnschlingen am Ballenanfang angezeigt wird, die Plus- oder Minustaste drücken, um die Anzahl der Schlingen im Bereich von 0 bis 5 einzustellen.

Die Anzahl der Garnschlingen am Ballenanfang wird nach fünf Sekunden gespeichert.


A-Taste "Anzahl der Garnschlingen am Ballenanfang"
B-Anzahl der Garnschlingen am Ballenanfang

CC1020278

OUCC006,00010F3 -29-28JUL06-4/7


Anzahl der Garnschlingen am Ballenende einstellen (Garnbindung mit einfachem Garnarm)

Taste (A) "Anzahl der Garnschlingen am Ballenende" drücken. Die Anzahl der Garnschlingen am Ballenende (B) wird fünf Sekunden lang angezeigt.

Während die Anzahl der Garnschlingen am Ballenende angezeigt wird, die Plus- oder Minustaste drücken, um die Anzahl der Schlingen im Bereich von 0,5 bis 5 einzustellen.

Die Anzahl der Garnschlingen am Ballenende wird nach fünf Sekunden gespeichert.


A-Taste "Anzahl der Garnschlingen am Ballenende"
B-Anzahl der Garnschlingen am Ballenende

CC1020277

OUCC006,00010F3 -29-28JUL06-5/7


Abstand der Bindungsenden einstellen (Garnbindung mit doppeltem Garnarm)

Der Abstand der Bindungsenden zu den Ballenenden kann im Bereich von 8 bis 25 cm (3 bis 10 in) eingestellt werden.

Taste (A) "Abstand der Bindungsenden" drücken. Der Abstand (B) der Bindungsenden zu den Ballenenden wird fünf Sekunden lang angezeigt.

Während der Abstand angezeigt wird, die Plus- oder Minustaste drücken, um den Abstand zu erhöhen oder zu verringern.

Der angezeigte Abstand wird nach fünf Sekunden gespeichert.


A-Taste "Abstand der Bindungsenden"
B-Abstand der Bindungsenden

CC1020293

OUCC006,00010F3 -29-28JUL06-6/7


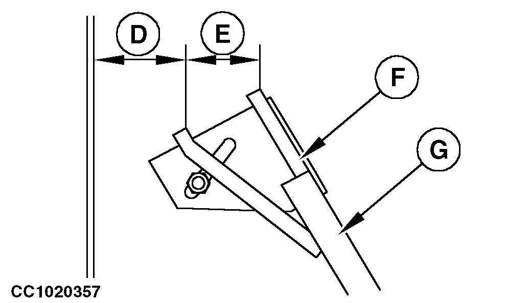
Abstand der Bindungsenden einstellen (Garnbindung mit einfachem Garnarm)

Der Abstand der Bindungsenden zu den Ballenenden kann im Bereich von 8 bis 25 cm (3 bis 10 in) eingestellt werden.

Taste (A) "Abstand der Bindungsenden" drücken. Der rechte Abstand (B) der Bindungsenden zu den Ballenenden wird fünf Sekunden lang angezeigt. Die PLUS oder MINUS-Taste drücken, um diesen Abstand zu erhöhen oder zu verringern.

Während der rechte Abstand (B) angezeigt wird, die Taste (A) "Abstand der Bindungsenden" drücken, um den linken Abstand (C) der Bindungsenden zum Ballenende anzuzeigen. Die PLUS oder MINUS-Taste drücken, um diesen Abstand zu erhöhen oder zu verringern.

Die angezeigten Abstände werden nach fünf Sekunden gespeichert.

causym ACHTUNG: Die angezeigte Einstellung des rechten Abstands gilt für das Führungsrohr (F). Um den tatsächlichen rechten Abstand zu erhalten, Abstand (E) von dem am Monitor angezeigten Abstand (B) abziehen.

Die Einstellung der Garnführung muß mit dem gewünschten linken Abstand übereinstimmen. Siehe "Garnführung einstellen" im Abschnitt "Betrieb der Presse - Allgemeines".


A-Taste "Abstand der Bindungsenden"
B-Rechter Abstand
C-Linker Abstand
D-Abstand
E-Abstand
F-Führungsrohr
G-Garnarm

CC1020279
CC1020357

OUCC006,00010F3 -29-28JUL06-7/7