Kunststoffrollen einstellen (Presse mit CoverEdge-Netzbindeeinrichtung)

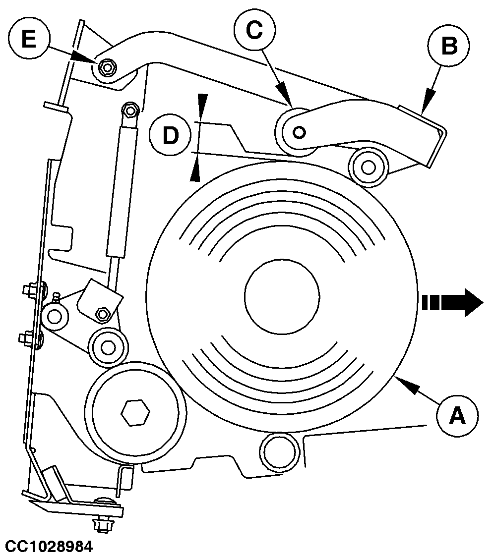
1. Netzrolle (A) unter Kunststoffrollenhalterungen (B) positionieren, siehe Abbildung. Siehe "Netzrolle laden" im Abschnitt "Vorbereiten der Presse".

2. Prüfen, ob der Abstand (D) zwischen Netzrolle (A) und Kunstoffrollen (C) dem vorgeschriebenen Maß entspricht.

Spezifikation

Netzrolle zu Kunststoffrollen -Abstand 4 ± 2 mm (0.16 ± 0.08 in.)

Falls erforderlich, Abstand (D) wie folgt einstellen:

a. Muttern (E) auf beiden Seiten lösen.

b. Kunststoffrollenhalterung (B) einstellen, um Abstand (D) zu erhalten.

c. Muttern (E) auf beiden Seiten anziehen.


A-Netzrolle
B-Kunststoffrollenhalterung
C-Kunststoffrolle
D-Abstand
E-Mutter

CC1028983
CC1028984

OUCC006,0001231 -29-31JAN07-1/1