Messer der Schneideinrichtung ersetzen

causym ACHTUNG: KEIN RISIKO EINGEHEN! Um schwere oder sogar tödliche Verletzungen durch die Messer zu vermeiden, Absperrventil (B) immer schließen, bevor Messer ausgebaut oder ersetzt werden.

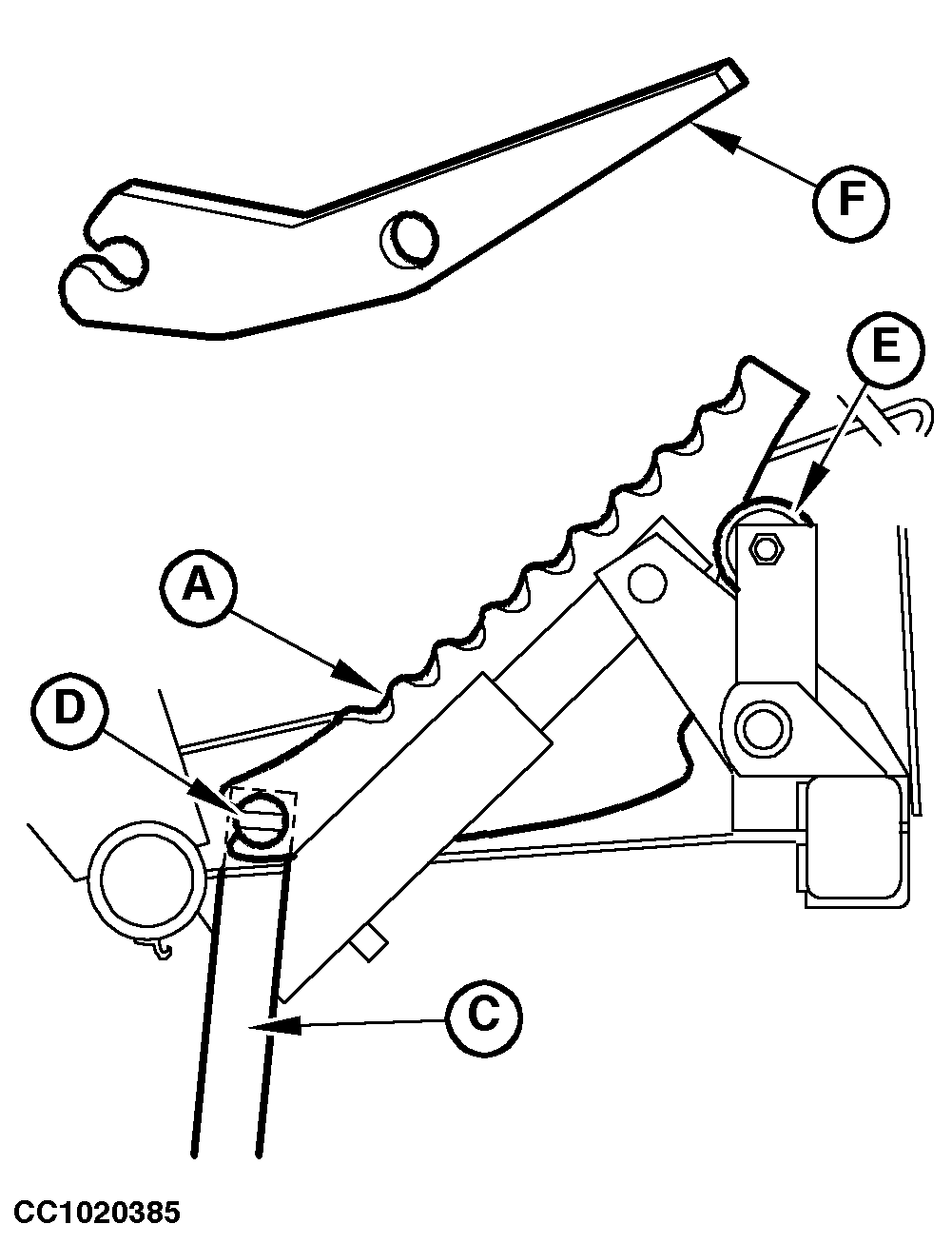
Jedes Messer (A) kann einzeln ausgebaut und ausgewechselt werden. Wie folgt vorgehen:

1. Messer einfahren (siehe "Messer der Schneideinrichtung einfahren/ausfahren" in den Abschnitten "Betrieb der Presse - Allgemeines" und "Betrieb mit BaleTrak-Steuerung").

2. Das Gatter ganz öffnen und in dieser Stellung sichern.

3. Hebel (C) aus dem Sperrbolzen herausziehen und nach unten schwenken.

4. Die Messer lassen sich jetzt leicht vom Inneren der Presse aus entfernen. Messer (A) von Messerträger (D) und Führungsstück (E) abziehen.

WICHTIG: Wenn ein Messer nicht mehr benötigt wird, so wird empfohlen, an seiner Stelle die Abdeckung für den Messerschlitz (F) einzubauen. Dadurch wird verhindert, daß sich an der nun entstandenen Öffnung Erntegut ansammelt.

5. Zum Einbau Messer (A) zuerst in Führungstück (E) einsetzen, dann auf dem Messerträger (D) anbringen.

6. Hebel (C) nach oben schwenken und sichern.

7. Gatter absenken.

8. Absperrventil (B) öffnen.


A-Messer
B-Absperrventil
C-Hebel
D-Ballenstützrohr
E-Führung
F-Abdeckung für Messerschlitz

CC1020384
CC015280
CC1020385

OUCC006,0001265 -29-01FEB07-1/1