Adjust Slip Clutch (359 and 459)

CC7751-UN-23SEP98
459 Baler Shown
A - Spring Dimension
B - Spring Adjusting Nuts
-
Adjust Spring Length
Spring dimension (A) (coil to coil) must be 34—35 mm
(1.33—1.37 in.) on 359 balers and 43—43.5 mm (1.69—1.71
in.) on 459 balers.
IMPORTANT: Adjust all springs to the same length.
Tighten or loosen spring adjusting nuts (B) until the correct
spring dimension is obtained.
-
Secure Plungerhead

CC7763-UN-23SEP98
A - Wood Block
Prevent movement of plungerhead by placing a wood block (A)
as shown.
-
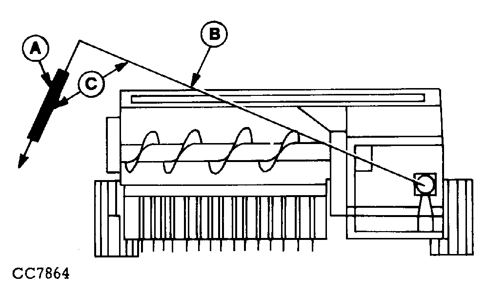
Check Clutch Slip Torque

CC7864-UN-05OCT98
A - Spring Balance
B - Lever
C - 90° Angle
IMPORTANT: Check slip clutch to be sure linings are not bonded
to metal plates.
Check clutch slippage using spring balance (A) and 3 m (10 ft)
lever (B) attached to power shaft. Exert force at an angle of 90°
(C).
For proper force on lever for clutch slippage, refer to the
following specifications:
359 Baler:
-
240—290 N (53—65 lb.)
-
720—870 N·m (520—629 lb.-ft.)
459 Baler:
-
315—360 N (70—80 lb.)
-
945—1080 N·m (683—781 lb.-ft.)
IMPORTANT: Excessive slippage will damage the slip clutch. A
slip clutch adjusted too tight will not give any protection to the
power train.
|
|
OUCC002,0002324-19-20100319
|
|