Attachment Level Indicator (Hydraulic Self-Leveling Loader)
NOTE:

CC1031651-UN-14SEP09

W21849-UN-15SEP11

W21850-UN-15SEP11
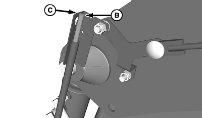
A - Knob
B - Rod
C - Bracket
Indicator position changes with different attachments.
Position bucket or attachment level with ground. Loosen knob
(A) and adjust rod (B) until even with bracket (C). Tighten knob.
|
|
CC03745,00010BE-19-20130801
|
|