Attach Bucket or Attachment
CAUTION: DO NOT allow bystanders near loader while attaching
bucket or attachment. To prevent serious injury, bucket or attachment
must be attached only by tractor operator.
-

CC1037895-UN-17JUL12
Combi ISO/SMS Carrier Shown

CC1037716-UN-17JUL12
Combi ISO/MX Carrier Shown
A - Movable Spacer
B - Adapter for ISO Bucket or Attachment
C - Adapter for MX Bucket or Attachment
D - Lever
1 - Working Position
2 - Storage Position
Clean debris from latching mechanism, carrier, and attaching
points.
-
If equipped with Combi ISO/SMS or ISO/MX carrier, prepare carrier
as follows.
-
With Combi ISO/SMS carrier, place both movable spacers (A) in
correct position according to the bucket or attachment type:
-
For ISO bucket or attachment, place spacer (A) in low position
as shown.
-
For SMS bucket or attachment, place spacer (A) in high position.
-
With Combi ISO/MX carrier, install relevant adapters (B) or
(C) in working position (1) according to the bucket or attachment
type:
-
For ISO bucket or attachment, install both adapters (B) in working
position (1) as shown.
-
For MX bucket or attachment, pull lever (D) and remove both
adapters (B) from working position (1), then install in storage position
(2) instead of adapters (C). Install adapters (C) in working position
(1).
-

CC1037707-UN-17JUL12
Loaders without Hydraulic Implement Unlatching
A - Pin
B - Handle
Place auto-latch device in unlatched position.
-
Loaders without hydraulic implement unlatching:
Start tractor engine and extend bucket cylinders to angle carrier
forward slightly.
Place transmission in PARK, shut off
engine, and remove key.
Pull latch handle (B) outward and rotate back until pin (A)
rests against carrier frame and is locked in UNLATCHED position.
-

CC1037708-UN-17JUL12
Loaders with Hydraulic Implement Unlatching
A - Unlatching Button
Loaders with hydraulic implement unlatching:
Start tractor engine and fully roll back the carrier arms (retract
bucket cylinders) to fill accumulator of hydraulic implement unlatching
device.
Extend bucket cylinders to angle carrier forward slightly.
Simultaneously press both buttons (A). The auto-latch device
has moved to unlatched position.
-

CC1037709-UN-17JUL12
A - Arm
B - Hook
C - Bar
Drive forward and center carrier arms (A) under hooks (B)
on bucket or attachment.
-
Raise carrier until bar (C) engages in hooks (B) on both sides
of bucket or attachment.
-

CC1037710-UN-17JUL12
A - Pin (1 each Side)
B - Bracket, Attachment (1 each Side)
C - Rod
D - Tab
Roll back bucket or attachment fully (retract bucket cylinders).
Rod (C) contacts tab (D) and releases latch mechanism allowing pins
(A) to slide into brackets (B) on bucket or attachment.
NOTE: Auto-latch device is optimized for operating with front
of loader boom just off ground.
-
CAUTION:

CC1037711-UN-17JUL12
A - Latch Pin (1 each Side)
DO NOT operate loader without confirming that latch pins
(A) are engaged in attachment. Failure to engage pins can allow attachment
to detach from loader, resulting in serious injury or death.
Check pin engagement with bucket or attachment:
-
Position loader approximately 300 mm (1 ft.) above ground and
dump bucket or attachment until front edge contacts ground.
-
Apply pressure against ground (extend bucket cylinders) to verify
that pins (A) are fully engaged in bucket or attachment.
-
Lower loader to ground, place transmission in PARK, shut off engine, and remove key.
-
CAUTION: Escaping fluid under pressure can penetrate the skin
causing serious injury. Avoid the hazard by relieving pressure before
connecting hydraulic or other lines.

X9811-UN-23AUG88
Relieve pressure in hydraulic system. See Relieve Hydraulic
Pressure Safely in Safety section and see your tractor Operator’s
Manual for specific procedure.
-
Lock out loader control levers. See Loader Control Levers in
Controls section and see your tractor Operator’s Manual for
specific procedures.
-

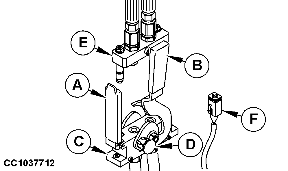
CC1037712-UN-17JUL12
Bucket or Attachment Multicoupler
A - Cover
B - Lock Cam Lever
C - Base
D - Lock Button
E - Top Case
F - Harness
Connect hydraulics and electrics (bucket or attachment with
3rd or 4th functions).
-
Loader with bucket or attachment multicoupler:
NOTE: Before each connection, carefully clean the mating surface
of base and top case as well as guiding pins.
Open multicoupler cover (A), push on lock button (D) and simultaneously
pull up lock cam lever (B).
IMPORTANT: Multicoupler halves must align properly or damage
to couplers can occur.
Engage top case (E) on base (C), then pull down lock cam lever
(B) until lock button (D) engages, so that top case (E) is connected
to base (C).
Connect electrical harness (F) for additional functions if equipped.
-

CC1036915-UN-02FEB12
Bucket or Attachment Individual Couplers
A - Plug
B - Individual Coupler, Male
C - Individual Coupler, Female
D - Harness
Loader with bucket or attachment individual couplers:
NOTE: Identify connections with color-coded plugs (A).
-
Attachment Cylinder—Rod End (Green)
-
Attachment Cylinder—Head End (Orange)
Remove plugs (A) from individual couplers.
Connect male and female individual couplers (B) and (C) on loader.
Connect electrical harness (D) for additional functions if equipped.
-
Unlock loader control levers. See Loader Control Levers in Controls
section and see your tractor Operator’s Manual.
-
Check attachment operation.
|
|
OUCC006,00018C5-19-20120712
|
|