Record Tractor Information (Australia Only)

CC1036291-UN-12JAN12

CC1036540-UN-25JAN12
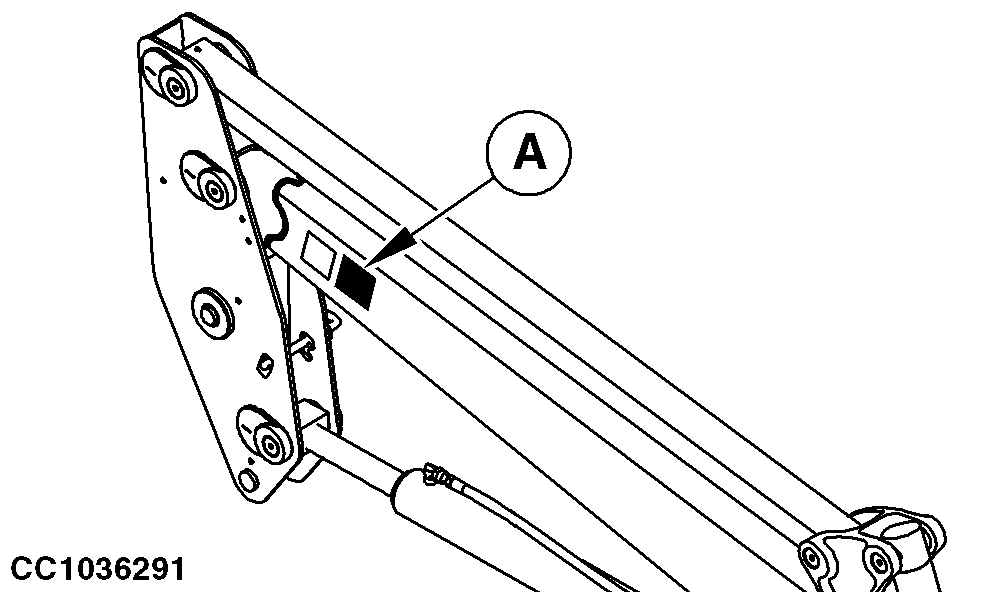
A - Tractor Identification Plate
The tractor identification plate (A) is located on the loader,
inside the left boom or outside the right boom. Verify that accurate
tractor information is recorded on the plate and record the information
here. See Rated Operating Load in this section for tractor set-up
information.
If loader is installed on a different tractor, update the information
on this page, then replace and update the plate. See your John Deere
dealer.
|
|
OUCC006,00018DE-19-20120717
|
|