Set Heavy-Duty Multiple Bale Grapple Frame Position for ISO
or Combi ISO/SMS and ISO/MX Carrier

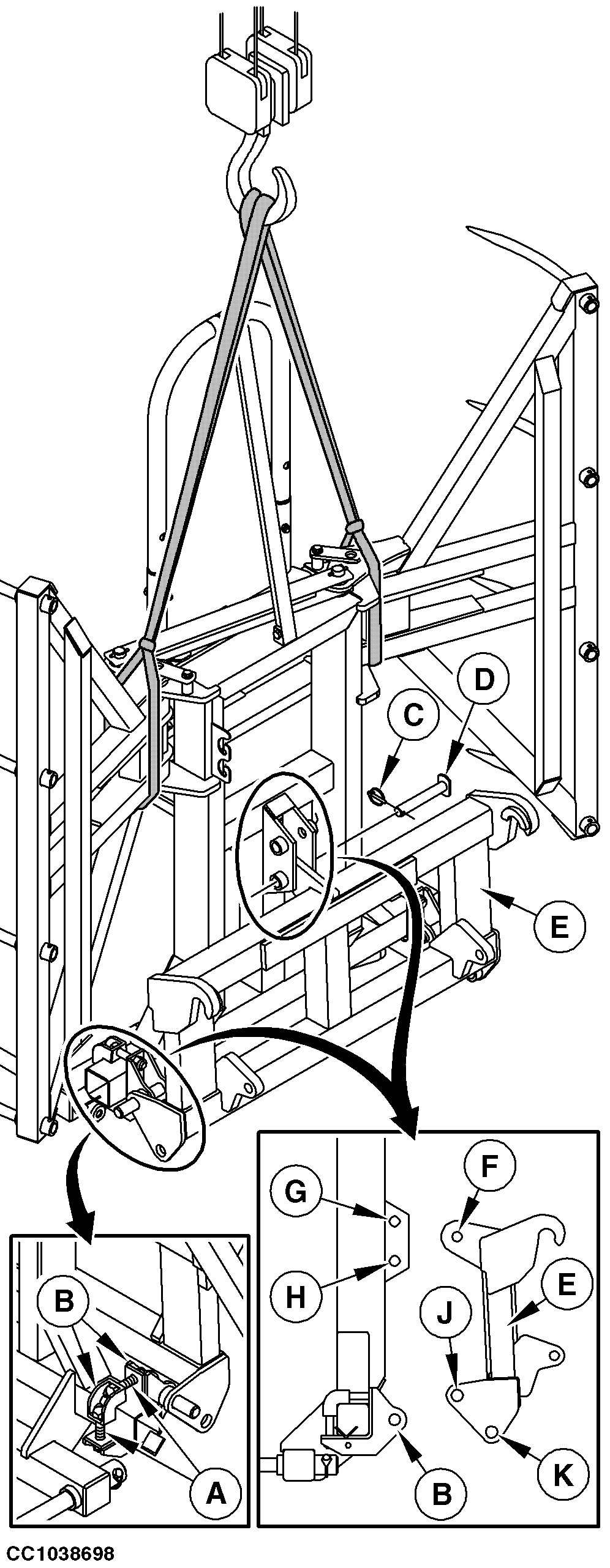
CC1038698-UN-10DEC12
A - Fixing Screw
B - Clamp
C - Shaft Locking Pin
D - Pin
E - Bale Grapple Frame
F - Hole
G - Combi ISO/SMS and ISO/MX Carrier Hole
H - ISO Carrier Hole
J - ISO Carrier Hole
K - Combi ISO/SMS and ISO/MX Carrier Hole
Heavy-duty multiple bale grapple frame may be set in two
different position depending on loader carrier type. Following procedure
describe how to set the heavy-duty multiple bale grapple frame for
carrier ISO or carrier combi ISO/SMS and carrier combi ISO/MX:
CAUTION: To help prevent personal injury or death caused by
a falling heavy-duty multiple bale grapple, always secure attachment
by using lifting equipment prior modifying the frame position.
-
Attach heavy-duty multiple bale grapple with adequate lifting
equipment as shown to prevent attachment to fall.
-
On both sides, remove fixing screws (A).
-
Slide and remove clamps (B).
-
Maintain frame (E) then remove shaft locking pin (C) and pin
(D).
-
Position frame (E) according to the loader carrier type:
• If loader is equipped with ISO carrier, align hole (F)
and hole (H) then install pin (D) and shaft locking pin (C). Install
clamps (B) by using holes (J).
• If loader is equipped with combi ISO/SMS or ISO/MX carrier,
align hole (F) and hole (G) then install pin (D) and shaft locking
pin (C). Install clamps (B) by using holes (K). Set also loader carrier
for ISO attachment position. See in Attach and Detach Bucket
or Attachment section.
-
On both side, install and tighten fixing screws (A).
|
|
OUCC006,00019F3-19-20121211
|
|