Every 50 Hours - Check Mounting Frame Hardware (5G Series Tier
3 Tractors)

CC202377-UN-09JUL13

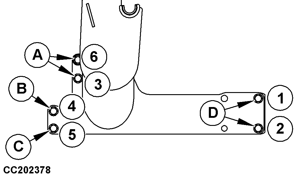
CC202378-UN-16JUL13
A - Cap Screw
B - Cap Screw
C - Cap Screw
D - Cap Screw
E - Washer
F - Washer
IMPORTANT: Help prevent damage to the tractor or loader caused
by operating with loose mounting hardware. Tightening loader mounting
frame hardware after first 3 hours of loader operation is critical.
Tighten again after 10 hours and every 50 hours thereafter.
Tighten six cap screws (A), (B), (C) and (D) on both sides to
specification using tightening sequence shown.
| Item | Measurement | Specification |
|
Cap Screw (A), (B) and (C) | Torque | 530 N·m (390 lb.-ft.) |
|
Cap Screw (D) | Torque | 350 N·m (260 lb.-ft.) |
|
Hardware used on loader mounting frame
|
|
Item
|
Designation
|
Standard
|
Dimension
|
Identification / Grade
|
Coating
|
|
(A)
|
Cap screw
|
ISO4014
|
M20 x 2.5 x 110
|
10.9
|
Phosphate
|
|
(B)
|
Cap screw
|
ISO4014
|
M20 x 2.5 x 65
|
10.9
|
Phosphate
|
|
(C)
|
Cap screw
|
ISO4014
|
M20 x 2.5 x 80
|
10.9
|
Phosphate
|
|
(D)
|
Cap screw
|
ISO4014
|
M16 x 2 x 80
|
10.9
|
Phosphate
|
|
Hardware used on loader mounting frame
|
|
Item
|
Designation
|
Standard
|
Dimension - Inside
|
Dimension - Outside
|
Thickness
|
Material
|
Coating
|
|
(E)
|
Washer
|
JDS130
|
21.4 mm (0.8 in.)
|
42 mm (1.6 in.)
|
5 mm (0.2 in.)
|
300HV
|
Zinc
|
|
(F)
|
Washer
|
JDS130
|
17 mm (0.7 in.)
|
34 mm (1.3 in.)
|
4 mm (0.2 in.)
|
300HV
|
Zinc
|
|
|
OUCC006,0001AA2-19-20130718
|
|