Disassemble Loader Lift Cylinder Spacers (643R Loader)

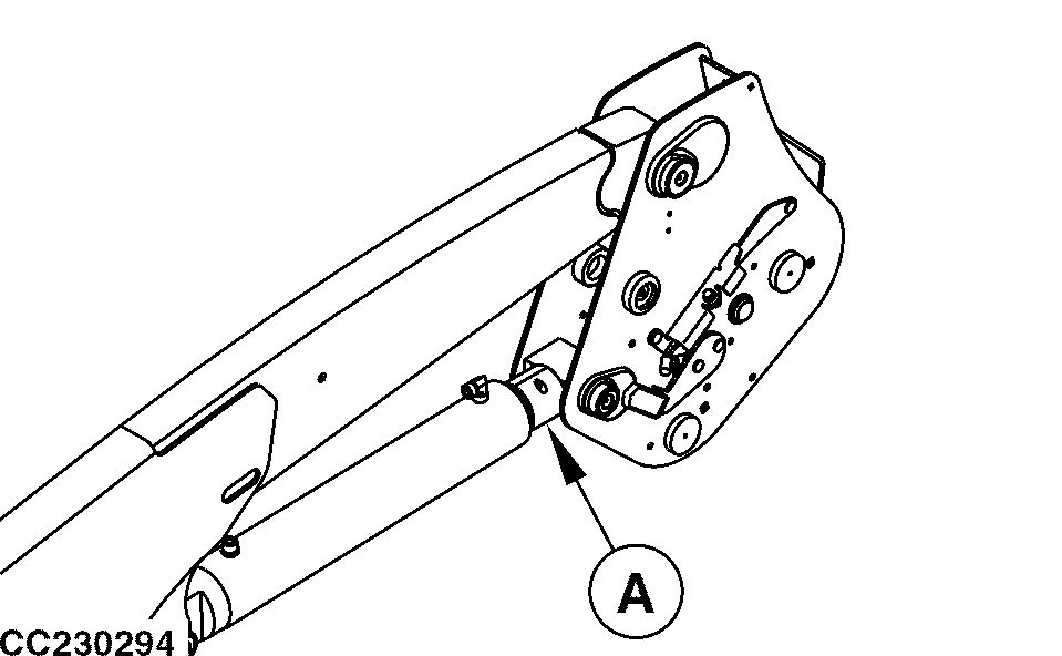
CC230294-UN-02JUL15
Location of Loader Lift Cylinder Spacers

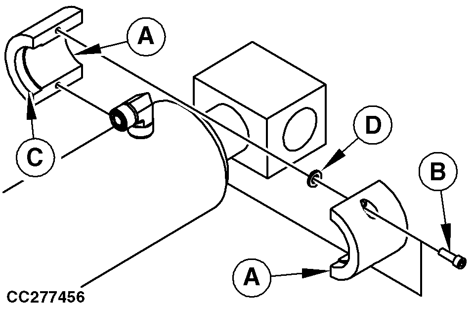
CC277456-UN-15APR16
A - Loader Lift Cylinder Spacers
B - Screws
C - Bore Side
D - Washer
Loader lift cylinder spacers are required for ground
digging and when front axle big lateral tilt is required.
Loader lift cylinder spacers are only required for 643R mounted
on compatible 4-cylinder tractors except 6534.
-
Slightly extend boom cylinders.
-
To ensure that the loader will not lower during operation:
-
Engage park brake.
-
Place transmission in PARK.
-
Shut off engine and remove key.
-
Lock out joystick. See Lock and Unlock Joystick in Controls section.
-
Remove screws (B) and washer (D).
-
Remove the two parts of loader lift cylinder spacers (A).
-
Repeat this procedure on opposite side.
|
|
CC03745,00011BD-19-20161012
|
|