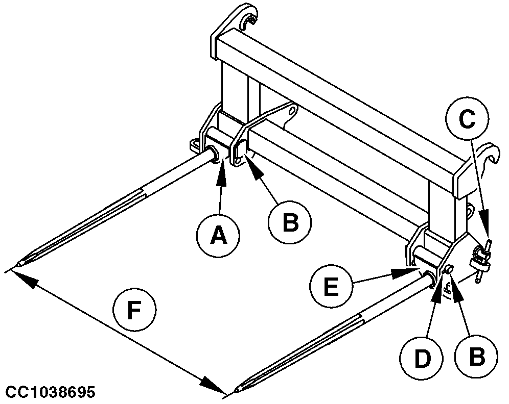
Set Teeth Spacing on Bale Spike with Foldable Teeth

CC1038695-UN-10DEC12
A - Tooth Bracket
B - Pivot Pin
C - Locking Pin
D - Cotter Pin
E - Tooth Bracket
F - Spacing Between Teeth
Bale spike can be set with two different spacings between
teeth (F).
-
On both sides, remove locking pins (C), cotter pins (D) and
pivot pins (B).
-
Remove tooth brackets (A) and (E).
-
Install tooth brackets (A) and (E) in order to obtain desired
spacing value between teeth (F):
-
Tooth bracket (A) installed on right side and bracket (E) installed
on left side (position shown).
| | |
|
Spacing Between Teeth | Distance | 960 mm (3 ft. 1.8 in.) |
-
Tooth bracket (A) installed on left side and bracket (E) installed
on right side.
| | |
|
Spacing Between Teeth | Distance | 860 mm (3 ft.) |
-
Install pivot pins (B), cotter pins (D) and locking pins (C).
|
|
DC82261,000061C-19-20150716
|
|