Set Heavy-Duty Multiple Bale Grapple Frame Position for Euro
or Combi Euro/SMS and Euro/MX Carrier

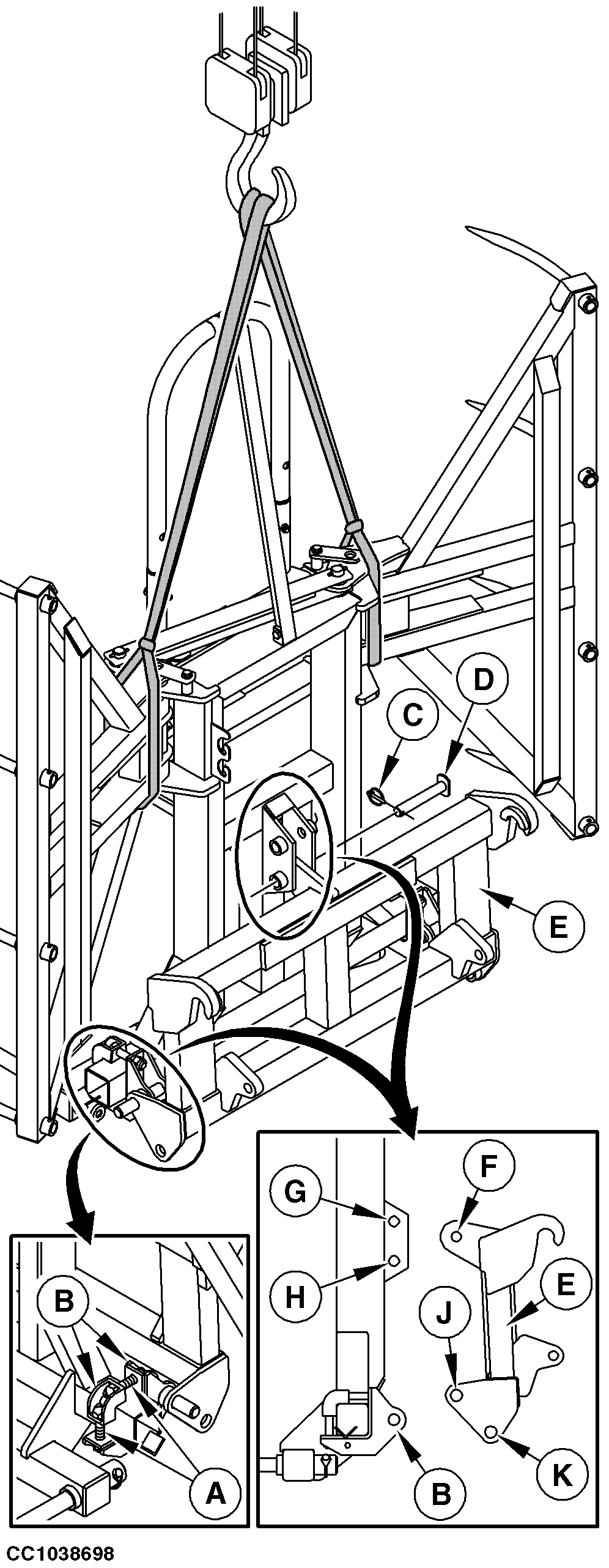
CC1038698-UN-10DEC12
A - Fixing Screw
B - Clamp
C - Shaft Locking Pin
D - Pin
E - Bale Grapple Frame
F - Hole
G - Combi Euro/SMS and Euro/MX Carrier Hole
H - Euro Carrier Hole
J - Euro Carrier Hole
K - Combi Euro/SMS and Euro/MX Carrier Hole
Heavy-duty multiple bale grapple frame may be set in two
different positions, depending on loader carrier type. Following procedure
describes how to set the heavy-duty multiple bale grapple frame for
Euro carrier or combi Euro/SMS carrier and combi Euro/MX carrier:
To help prevent personal injury or death caused by
a falling heavy-duty multiple bale grapple, always secure implement
by using lifting equipment prior to modifying the frame position.
-
Attach heavy-duty multiple bale grapple with adequate lifting
equipment as shown to prevent implement from falling.
-
On both sides, remove fixing screws (A).
-
Slide and remove clamps (B).
-
Maintain frame (E) then remove shaft locking pin (C) and pin
(D).
-
Position frame (E) according to the loader carrier type:
• If loader is equipped with Euro carrier, align hole (F) and
hole (H) then install pin (D) and shaft locking pin (C). Install clamps
(B) by using holes (J).
• If loader is equipped with combi Euro/SMS or Euro/MX carrier,
align hole (F) and hole (G) then install pin (D) and shaft locking
pin (C). Install clamps (B) by using holes (K). Set also loader carrier
for Euro implement position. See Attach Implements in Attaching and Detaching Implement section.
-
On both sides, install and tighten fixing screws (A).
|
|
DC82261,000061D-19-20150723
|
|