Operate Lift Cylinder Mechanical Locks (Australia Only)

CC006755-UN-28MAR95

CC250319-UN-24AUG15
A - Lift Cylinder Mechanical Locks
B - Screws and Crank Arms
Install Lift Cylinder Mechanical Locks:
-
Remove any load from bucket or implement.
Avoid machine damage. Do not lower loader onto lift
cylinder mechanical locks with hydraulic pressure applied or with
load in bucket.
-
Engage park brake.
-
Place transmission in PARK.
-
Remove lift cylinder mechanical locks (A) from their storage
position.
-
Raise loader and dump bucket or implement.
-
Shut off tractor engine and remove key.
Avoid injury or death. Do not stand under a raised
loader. Stand to side of tractor and loader when working with lift
cylinder mechanical locks.
-
Position lift cylinder mechanical locks (A) on both boom cylinders
as shown.
Lift cylinder mechanical lock (A) must be positioned
on the top of the cylinder rod.
-
Retain lift cylinder mechanical locks (A) with screws and crank
arms (B).
-
Slowly relieve pressure from the hydraulic system.
Remove and Store Lift Cylinder Mechanical
Locks:

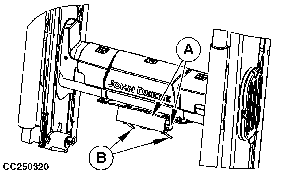
CC250320-UN-24AUG15
A - Lift Cylinder Mechanical Locks
B - Screws and Crank Arms
Avoid injury or death. Do not stand under a raised
loader. Stand to side of tractor and loader when working with lift
cylinder mechanical locks.
-
Raise loader.
-
Shut off tractor engine and remove key.
-
Remove screws and crank arms (B), then remove lift cylinder
mechanical locks (A) from cylinders.
-
Lower loader to the ground.
-
Install both lift cylinder mechanical locks (A) on their storage
bracket, then install screws and crank arms (B) as shown.
|
|
DC82261,000062A-19-20150706
|
|