Record Tractor Information (Australia Only)

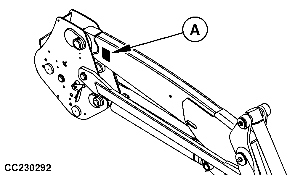
CC230292
CC230292-UN-29JUN15

CC1036540
CC1036540-UN-25JAN12

A - Tractor Identification Plate

The tractor identification plate (A) is located on the loader inside the left boom. Verify that accurate tractor information is recorded on the plate and record the information here. See Rated Operating Load in this section for tractor set-up information.

If loader is installed on a different tractor, update the information on this page, then replace and update the plate. See your John Deere dealer.

JC87117,00001C9-19-20150722