-
Clean debris from latching mechanism, carrier, and attaching
points.
3rd function multicoupler lever must be in locked (DOWN)
position and cover must be closed when implement multicoupler is disconnected.

CC277466-UN-08APR16

CC238322-UN-20APR15
Adapters for Implement
A - Lock Hole
B - Lever
C - Adapter for MX Implement
D - Adapter for Euro Implement
1 - Working Position
2 - Storage Position
-
Install adapters (C) or (D) according to the implement type:
Carrier configuration I:
-
For Euro implement, install Euro adapters (D) in working position
(1), lock it with lynch pin in hole (A). Install MX adapters (C) in
storage position (2), lock it with lynch pin.
-
For MX implement, install MX adapters (C) in working position
(1), lock it with lynch pin in hole (A). Install Euro adapters (D)
in storage position (2), lock it with lynch pin.
Carrier configuration II:
-
For Euro implement, pull lever (B) and install Euro adapters
(D) in working position (1). Install MX adapters (C) in storage position
(2), lock it with lynch pin.
-
For MX implement, pull lever (B) and install MX adapters (C)
in working position (1). Install Euro adapters (D) in storage position
(2), lock it with lynch pin.
-

CC238323-UN-26MAY15
Loaders without Hydraulic Implement Unlatching

CC238329-UN-26MAY15
Loaders with Hydraulic Implement Unlatching
A - Handle
B - Unlatching Button
Place implement latch in unlatched position:
-
Loaders without hydraulic implement unlatching:
-
Place transmission in PARK, shut off engine and remove key.
-
Pull latch handle (A) outwards and rotate clockwise until it
is locked in unlatched position.
-
Loaders with hydraulic implement unlatching:
-
Fully roll back carrier to raise pressure in the accumulator
of hydraulic implement unlatching.
-
Simultaneously press both buttons (B) to move implement latch
to unlatched position.
On some tractor models, unlatching button is positioned
on the radio console.
If hydraulic implement unlatching
is out of order, the system can be used manually.
-
Attach Implement:

CC238332-UN-12MAY15
A - Implement Hooking Bar
B - MX Carrier Hooks
-
Loaders with combi Euro/MX carrier and prepared for MX implement:
-
When MX carrier hooks (B) are aligned with implement hooking
bar (A), lower carrier to place MX carrier hooks (B) under implement
hooking bar (A) as shown.
-
Drive forward and raise carrier until MX carrier hooks (B) engage
in implement hooking bar (A) on both sides.
-
Loaders with combi Euro/MX carrier and prepared for Euro implement:

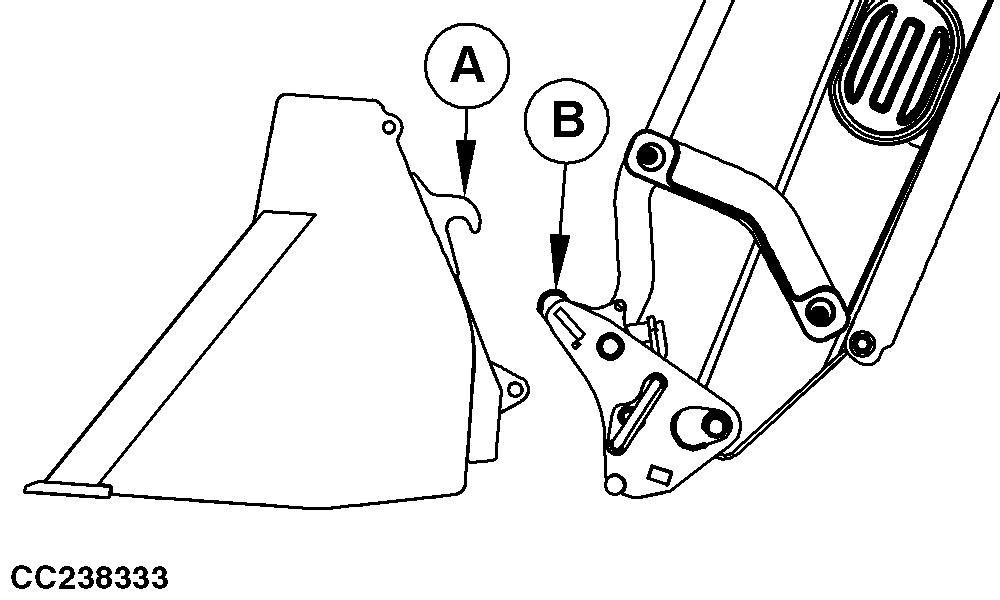
CC238333-UN-12MAY15
A - Implement Hooks
B - Euro Carrier Hooking Bar
-
When Euro carrier hooking bar (B) is aligned with implement
hooks (A), lower carrier to place Euro carrier hooking bar (B) under
implement hooks (A) as shown.
-
Drive forward and raise carrier until Euro carrier hooking bar
(B) engages in implement hooks (A) on both sides.
-
Latch Implement:

CC238331-UN-02JUN15

CC277468-UN-08APR16
A - Latch Handle
B - Distance
Avoid injury from unexpected implement movement while
attaching. If loader is raised prior to implement latching, the implement
may jump off the carrier bar and contact a bystander. To avoid unexpected
detachment, roll carrier back slowly until implement latch engages
before lifting loader.
Slowly roll back carrier until implement latch engages.
On loaders equipped with combi Euro/MX carrier and prepared
for Euro implement, latch handle (A) plate is not flush against carrier
when implement is latched. The distance (B) must be within 45 mm (1-3/4
in) and 55 mm (2-3/16 in).
-
Check that implement is properly latched on loader.

CC244312-UN-02JUN15

CC244309-UN-02JUN15
A - Latch Pin (1 on each side)
To avoid serious bodily injury or death, DO NOT operate
loader before making sure latch pins (A) are properly engaged with
implement. Failure to engage pins could cause implement to detach
from loader.
Check pin engagement with implement:
-
Position loader approximately 300 mm (1 ft.) above ground and
dump implement until front edge contacts ground.
-
Apply pressure against ground (extend bucket cylinders) to verify
that pins (A) are fully engaged in implement.
-
Lower loader to ground, place transmission in PARK, shut off engine, and remove key.
-
Relieve pressure in hydraulic system. See your tractor Operator’s
Manual for specific procedure.
-
Lock out joystick. See Lock and Unlock Joystick in Controls section. If equipped
with other loader control levers, see your tractor Operator’s Manual.
-
Connect implement hydraulics and electrics (implement with 3rd
or 4th function).

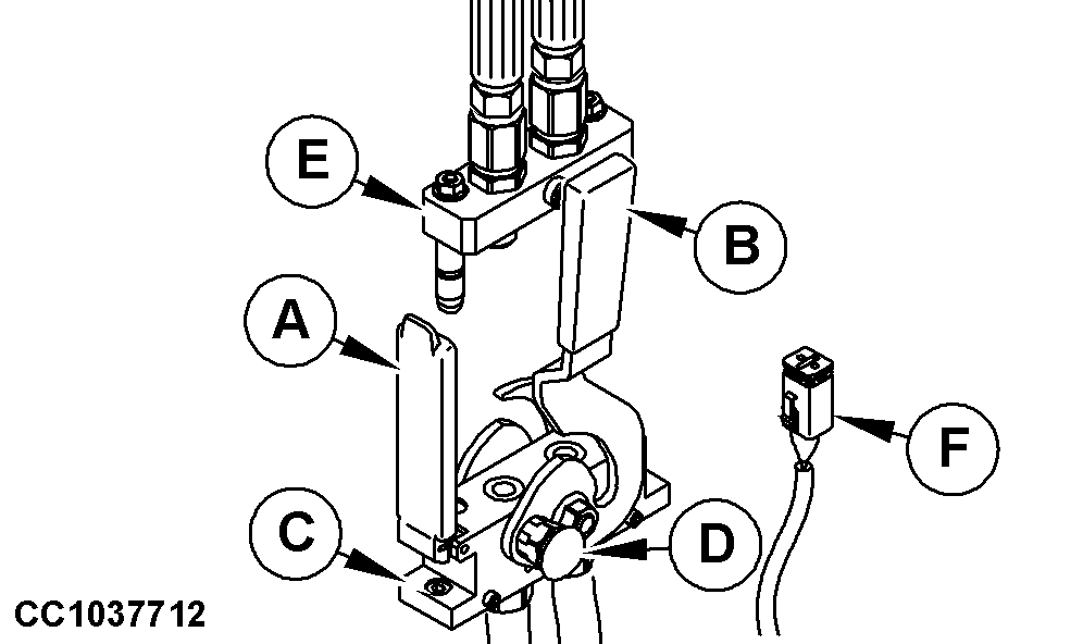
CC1037712-UN-17JUL12
Implement Multicoupler
A - Cover
B - Lever
C - Base
D - Lock Button
E - Top Case
F - Harness
Before each connection, carefully clean the mating surface
of base and top case, as well as guiding pins.
Open multicoupler cover (A), push lock button (D) and simultaneously
pull up lever (B).
Multicoupler must align properly or damage to couplers
may occur.
Engage top case (E) on base (C). Pull down lever (B) until lock
button (D) engages, so that top case (E) is connected to base (C).
Connect electrical harness (F) for additional functions if equipped.
-
Unlock joystick.
-
Check implement operation.