Each Tractor Engine Oil Change: Check Mounting Frame Hardware
(6000, 6010, 6020, 6025, 6030, 7020, 7030, 6MC, 6RC, 6M, and 6R Series
Tractors)

CC248276-UN-03JUL15
TYPE A

CC250313-UN-03JUL15
TYPE B (Initial Design)

CC290937-UN-26SEP16
TYPE B (Latest Design)
-
Detach the loader. See Detach Loader in Attaching and Detaching the Loader section.
-
Depending on the tractor, visually determine the TYPE of mounting frame A or B, as shown.
-
Refer to the TYPE A or B to tighten cap screws, on both sides. Use tightening
sequence shown.
-

CC277480-UN-23MAY16

CC244318-UN-04JUN15
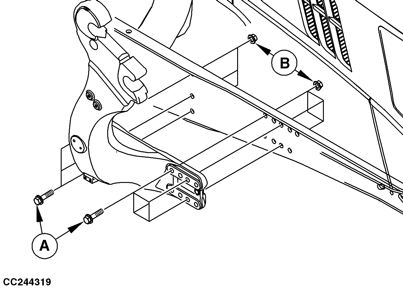
A - Cap Screw with Flange
B - Cap Screw with Flange
C - Washer
D - Hex. Nut with Flange
TYPE A:
Help prevent damage to the tractor or loader caused
by operating with loose mounting hardware. Retighten hardware after
each engine drain.
| | |
|
Cap Screws with Flange (A) and (B) | Torque | 620 N·m (460 lb.-ft.) |
|
Hardware used on loader mounting frame
|
|
Item
|
Designation
|
Standard
|
Dimension
|
Identification / Grade
|
Coating
|
|
(A)
|
Cap screw with flange
|
JDS121
|
M20 x 2.5 x 160
|
10.9
|
Zinc
|
|
(B)
|
Cap screw with flange
|
JDS121
|
M20 x 2.5 x 70
|
10.9
|
Zinc
|
|
(D)
|
Nut with flange
|
ISO4161
|
M20 x 2.5
|
10
|
-
|
|
Hardware used on loader mounting frame
|
|
Item
|
Designation
|
Standard
|
Dimension - Inside
|
Dimension - Outside
|
Thickness
|
Material
|
Coating
|
|
(C)
|
Washer
|
JDS130
|
21.4 mm (0.9 in.)
|
42 mm (1.5 in.)
|
5 mm (0.1 in.)
|
300HV
|
Zinc
|
-

CC244319-UN-04JUN15

CC290939-UN-27SEP16
Type B (Except for 6230R and 6250R)

CC290938-UN-26SEP16
Type B (for 6230R and 6250R only)
A - Cap Screw with Flange
B - Nut with Flange
TYPE B:
Help prevent damage to the tractor or loader caused
by operating with loose mounting hardware. Retighten hardware after
each engine drain.
| | |
|
Cap Screw with Flange (A) | Torque | 620 N·m (460 lb.-ft.) |
|
Hardware used on loader mounting frame
|
|
Item
|
Designation
|
Standard
|
Dimension
|
Identification / Grade
|
Coating
|
|
(A)
|
Cap screw with flange
|
JDS121
|
M20 x 2.5 x 80
|
10.9
|
Zinc
|
|
(B)
|
Nut with Flange
|
ISO 4161
|
M20 x 2.5
|
10
|
Zinc
|
|
|
NB02380,00001E1-19-20161019
|
|