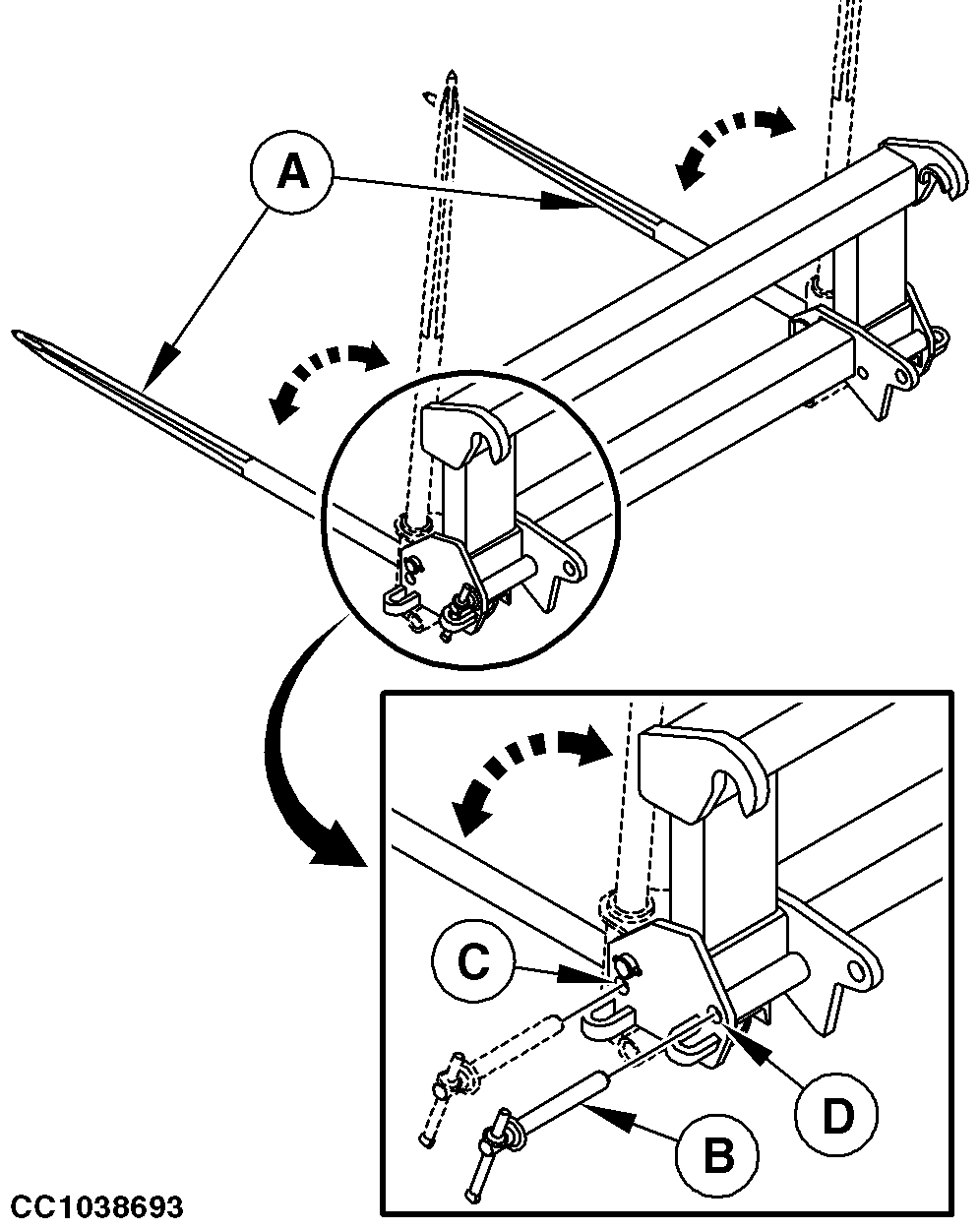
Put Bale Spike with Foldable Teeth in Transport or Working Position

CC1038693-UN-10DEC12
A - Tooth
B - Locking Pin
C - Transport Position Hole
D - Working Position Hole
Put bale spike teeth in transport position:
-
Remove locking pin (B).
-
Raise tooth (A) and secure it by inserting locking pin (B) in
transport position hole (C).
-
Repeat procedure on opposite side.
Put bale spike teeth in working position:
-
Remove locking pin (B).
-
Lower tooth (A) and secure it by inserting locking pin (B) in
working position hole (D).
-
Repeat procedure on opposite side.
|
|
OUCC006,00019EE-19-20121211
|
|