Transmisiones Finales

Hay dos transmisiones finales, una a cada lado del eje delantero.

Cambiar el aceite después de las primeras 100 horas de trabajo y luego cada 1000 horas de trabajo a partir de entonces.

IMPORTANTE: Comprobar el nivel de aceite cada 100 horas de trabajo. Limpiar el tubo de aspiración a diario

Capacidad para cada uno: 3,0 litros (SAE 90). Estándar.

Capacidad para cada uno: 4,8 litros (SAE 90). Servicio pesado.

NOTA: Utilizar sólo el aceite recomendado.

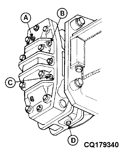
A - Cuello de la boca

B - Tapón del respirador

C - Tapón para comprobar el nivel de aceite.

D - Tapón para drenar el aceite.

ZCQD4231
CQ179340

AG,GG05155,269 -63-24OCT03-1/1