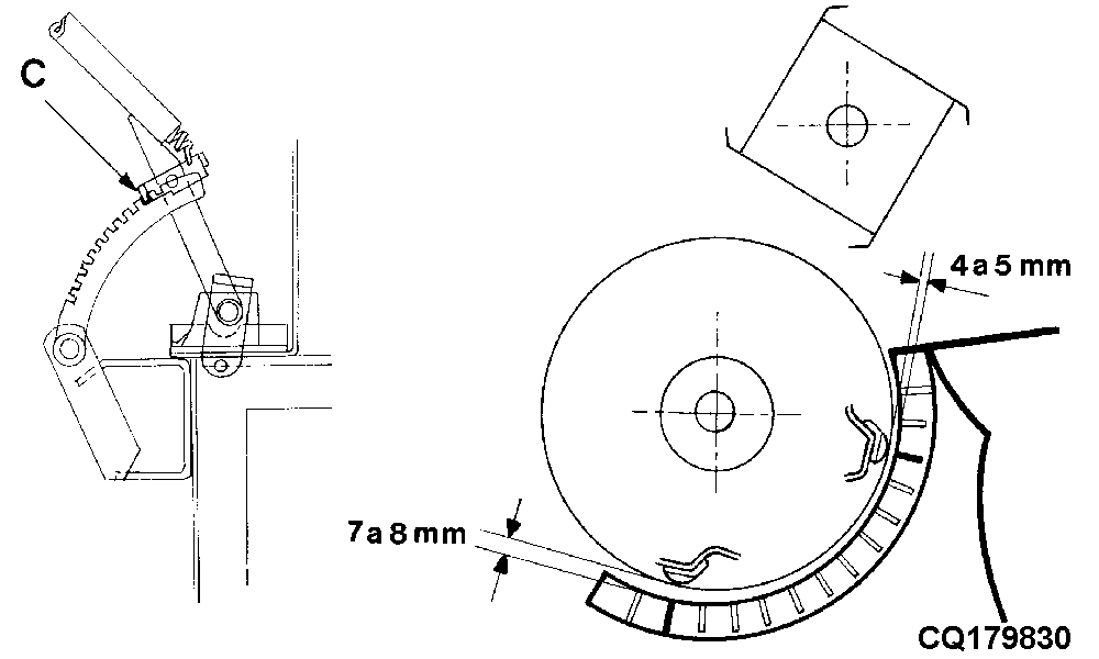
Ajuste de la Apertura Entre el Cóncavo y el Cilindro

A través de la varilla roscada (A), se ajusta la parte trasera del cóncavo y a través de la varilla (B) se ajusta la parte delantera.

Ajuste básico

  • Colocar el enganche de la palanca del cóncavo en el segundo segmento de arriba hacia abajo (C).
  • Apertura Trasera - dejar entre 4 y 5 mm de distancia entre la barra más alta del cilindro y la 3 barra del cilindro, contando de atrás hacia delante.
  • Apertura Delantera - dejar entre 7 y 8 mm de distancia entre la barra más alta del cilindro y la 2 barra del cóncavo, contando de delante hacia atrás.
  • Repetir el ajuste en el otro lado.
CQ179820
CQ179830

AG,GG05155,316 -63-24FEB99-1/1