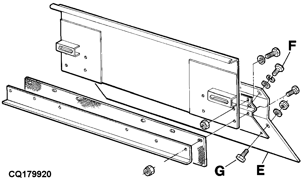
Deflector del Cilindro

IMPORTANTE: Retirar el deflector del cilindro (E) atornillado al interior de la cubierta de inspección antes de cosechar maíz.

El deflector (E) está fijado por los pernos hexagonales (F) y (G).

CQ179920

AG,GG05155,319 -63-24FEB99-1/1