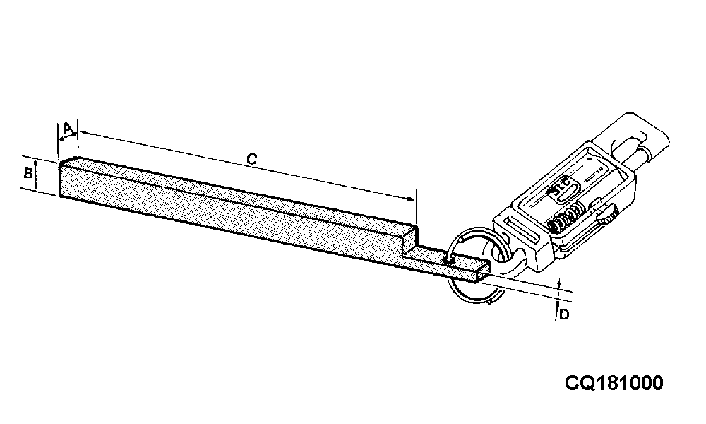
Calibrador Múltiple

El calibrador múltiple (CQ 80272) es una herramienta especial diseñada para proporcionar rendimiento de fábrica continuado al ajustar los mecanismos de frenado, embrague y tracción Posi-Torq.

Se recomienda su uso siempre que se proceda a realizar ajustes a estos mecanismos.

La medida "A" es de 5 mm. Utilizarla siempre que se proceda a realizar ajustes a los frenos de trabajo, el embrague y como holgura mínima entre las medias poleas en la unidad de tracción Posi-Torq inferior.

La medida "B" es de 8 mm. Utilizarla como holgura máxima entre medias poleas en la unidad de tracción inferior Posi-Torq.

La medida "C" es de 70 mm. Utilizarla siempre que se ajuste la cadena de transmisión del sacudidor para determinar la longitud del resorte.

La medida "D" es de 3,5 mm. Utilizarla siempre que se realice el ajuste del freno de estacionamiento.

Puede adquirirse el calibrador múltiple de su concesionario John Deere.

CQ181000

AG,GG05155,359 -63-24FEB99-1/1