Mantenimiento del Eje de Apoyo

Este procedimiento resulta válido para los momentos en que se retira el eje de apoyo para su comprobación (cada 300 horas) o mantenimiento.

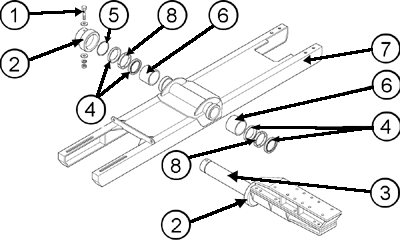
Procedimiento de retirada:

1. Antes de retirar cualquier pieza, limpiar la oruga para cualquier mantenimiento.
2. Retirar la oruga de la Cosechadora realizando el procedimiento inverso al de montaje.
3. Retirar el perno (1) para retirar la cubierta (2).
4. Tirar con cuidado del eje de apoyo (3).
5. Comprobar los retentores (4), la junta (5), los cojinetes (6) y el eje (3). Retirar toda la grasa del rodamiento del guardaeje (7).

Procedimiento de montaje:

1. Con los cojinetes (6) en su lugar, colocar los retentores (4) ligeramente engrasados en su lugar con el rodamiento del guardaeje (7) y las cubiertas (2).
2. Engrasar la superficie del eje de apoyo (3) e instalar un anillo separador (8).
3. Insertar el eje (3) en el rodamiento del guardaeje (7).

IMPORTANTE: Procurar no dañar los retentores (4).


4. Con el eje de apoyo en su posición, instalar otro anillo separador. En la parte oblicua al extremo del eje de apoyo, colocar el anillo separador (5).
5. Colocar de nuevo la cubierta (2). Colocar grasa con base de litio a través del orificio de la cubierta en el rodamiento del guardaeje (7). Para facilitar el engrase, girar el eje algunas veces. Dejar de añadir grasa sólo cuando comience a salir por el orificio en la cubierta (2).
6. Fijar el perno (1). Girar el eje de apoyo cinco veces para que se extienda bien la grasa.
7. Colocar de nuevo la escalera en la Cosechadora.

CQ218660

OU83340,0000004 -63-12AUG03-1/1