Concave and Cylinder Clearance Adjustment

Before adjusting the concave and cylinder clearance through electrical system from the cab, a fine adjustment is necessary.

The electrical actuator should be completely closed so that the clearance between concave and cylinder is minimum. The infotrak monitor must display a concave clearance of "4".

By means of the pin (B) adjust the rear part of the concave and with pin (C) adjust the front part of the concave.

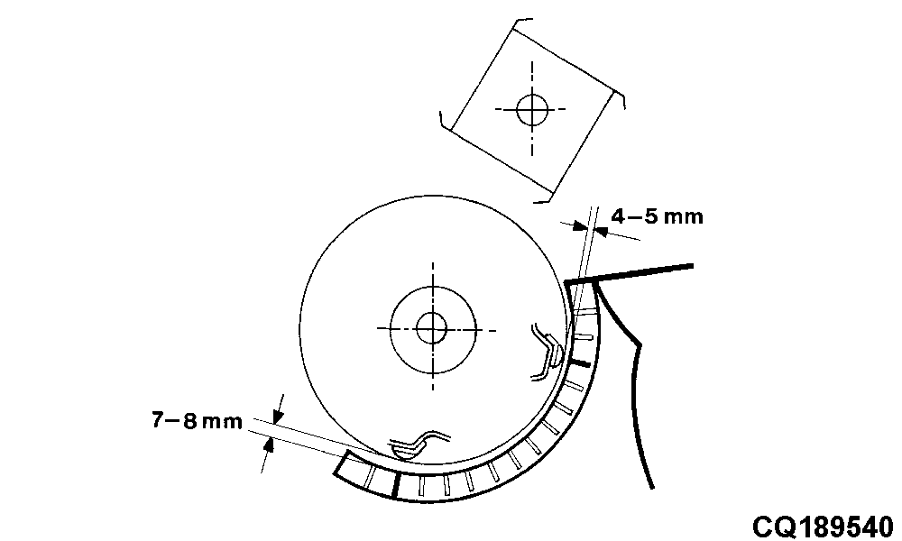
- Rear opening

- RASP-BAR CYLINDER - Allow 4-5 mm (0.16 to 0.2 in.) of play between the highest cylinder bar and the second concave bar from the rear.

- SPIKE-TOOTH CYLINDER - Allow 8-10 mm (0.3 to 9.91 mm) of play.

- Front opening

- RASP-BAR CYLINDER - Allow 7-8 mm (0.27 to 0.31 in.) of play between the highest cylinder bar (the one that projects the most) and the third concave bar from the rear.

- SPIKE-TOOTH CYLINDER - Allow 11-13 mm (0.43 to 0.5 in) of play.

Repeat the adjustment on the other side.

NOTE: This adjustment should always be done when changing concave.

NOTE: Once the requirements have been met on the electrical actuator and pins, the remaining adjustments must be made using the Infotrak Monitor. See "Controls and Instruments" Section.

CQ192140
CQ192150
CQ189540

Concave and Rasp-Bar Cylinder Clearance Adjustment

CQ209330

Concave and Spike-Tooth Cylinder Clearance Adjustment

AG,CO03622,1652 -19-17MAY02-1/1