Final Drives

Recommended oil SAE 90.

Capacity Final Drive Standard (each):

· 3 L (0.8 U.S. gal)

Capacity Final Drive Heavy Duty (each):

· 4.8 L (1.2 U.S. gal)


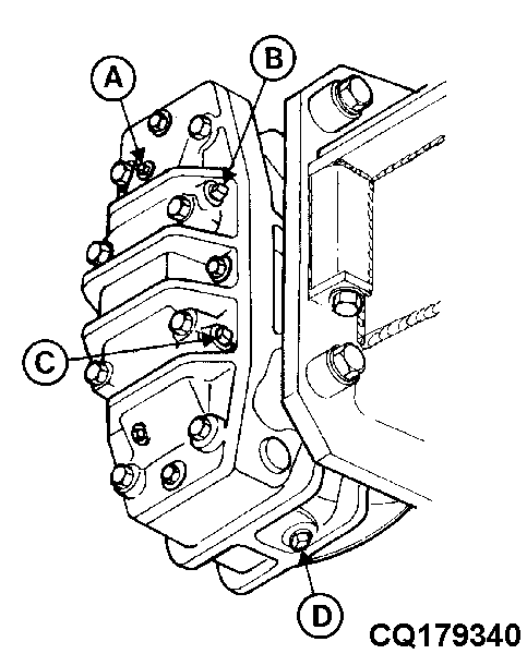
A-Oil Fill Cap
B-Breather Plug
C-Level Plug
D-Drain Screw

ZX010230

Standard Final Drive - 1450 and 1450 CWS

CQ179340

Heavy Duty Final Drive - 1550 and 1550 CWS

AG,CO03622,2061 -19-23OCT02-1/1