Replacing Fuel Filter Element 8.1 L Engine (1550)

causym CAUTION: Always remove ignition key before performing maintenance work on fuel filter. Avoid fire hazards!

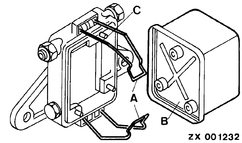
IMPORTANT: Impurities trapped in the groove or in the cavity of spring pin (C) might be flushed into the injection system where they could damage the pump or injectors.

Replace filter elements after every 200 hours of operation or at the end of every harvesting season.

To empty filter element, slacken off bleed screw and remove drain screw.

Release retaining springs (A). Pull off filter (B) and install new filter.

Bleed air from filter every time the filter is changed and whenever the fuel system has run dry as a result of a fuel shortage.

ZX001232

AG,CO03622,2090 -19-14MAR02-1/1