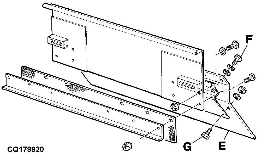
Cylinder Deflector

IMPORTANT: Remove the cylinder deflector (E) bolted to the inside of the inspection cover before harvesting corn.

The deflector (E) is fixed by the hexagonal bolts (F) and (G).

CQ179920

AG,GG05155,319 -19-24FEB99-1/1