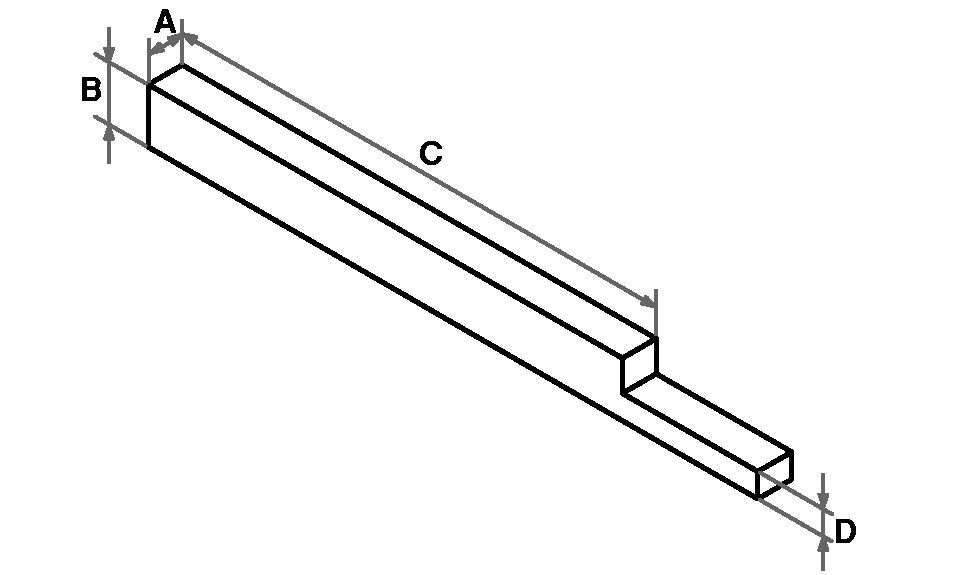
Multiple Calibrator

Multiple calibrator (CQ80272) is a special adjustment tool that helps maintain factory performance of the brake, clutch and Posi-Torq mechanisms.

We recommend using it whenever adjusting these mechanisms.

Measurement "A" is 5 mm. It is used whenever carrying out adjustments to parking brakes, clutch and, as minimum play between pulley halves in Posi-Torq drive lower unit.

Measurement "B" is 8 mm. Use it as maximum play between pulley halves in Posi-Torq drive lower unit.

Measurement "C" is 70 mm. Use it whenever adjusting the chain tension of the straw walker drive to determine the spring length.

Measurement "D" is 3,5 mm. Use it whenever carrying out parking brake adjustment.

The multiple calibrator can be acquired through your John Deere dealer.

CQ274590

AG,GG05155,359 -19-23JUN06-1/1