Drive Wheel and Dual Wheel Bolt Torque
IMPORTANT: Bolts must be clean and free of lube before installing.
Torque value is for clean, dry bolt. Lubricating reduces friction
and overloads bolts.

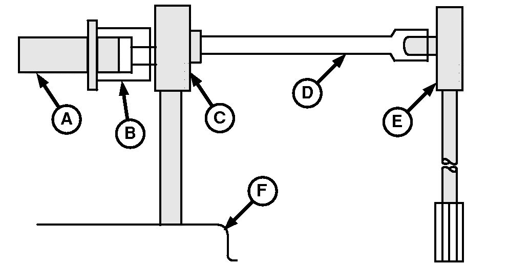
H72242-UN-12JUN02
A - Wheel Bolt
B - 30 mm Socket
C - 4-to-1 Torque Multiplier
D - Extension
E - Torque Wrench
F - Wheel
When drive wheels are repositioned or replaced, torque wheel
bolts to specification and in a criss/cross pattern without using
a torque multiplier.
| Item | Measurement | Specification |
|
Wheel Bolts | Torque | 200 N•m + 1/4 turn (150 lb-ft + 1/4 turn) |
NOTE: If equipped with 100 mm (4 in.) wheel spacers, turn bolt
head 1/2 turn (ratchet/torque wrench will make two full turns).
Use torque multiplier and turn bolt head 1/4 turn (ratchet/torque
wrench will make a full turn).

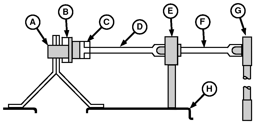
H72243-UN-16MAY02

H48028-UN-28AUG96
Torque Sequence
A - Wheel Bolt
B - Bolt Spacer (If Equipped)
C - 30 mm Socket
D - Extension
E - 4-to-1 Torque Multiplier
F - Extension
G - Torque Wrench
H - Outside Dual Wheel (If Equipped)
When dual wheels are repositioned or replaced, torque wheel
bolts to specification and in a criss/cross pattern without using
a torque multiplier.
| Item | Measurement | Specification |
|
Wheel Bolts | Torque | 200 N•m + 1/4 turn (150 lb-ft + 1/4 turn) |
Use torque multiplier and turn bolt head 1/4 turn (ratchet/torque
wrench will make a full turn).
IMPORTANT: Each time a wheel is removed, torque wheel bolts
to specification. After ten hours, torque the inside wheel and in
the other day torque the outside wheel, according as torque specification.
|
|
BL04947,000090D-19-20130909
|
|