Feeder House Conveyor Chain Links—Removing
NOTE: When replacing chain links always check sprockets for
wear.

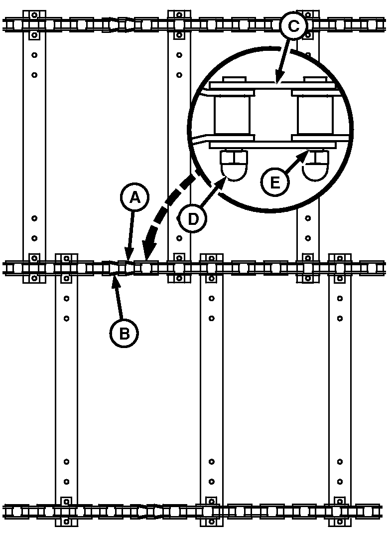
H87543-UN-17APR07
A - Offset Link
B - Offset Link
C - Sidebar
D - Cap Nut
E - Gap, 1—2 mm (3/64 in.—5/64 in.)
Remove offset links (A) for initial chain adjustment.
Remove offset links (B) for second adjustment. When adjustment
is used up from second adjustment, chain is worn out and should be
replaced.
| Item | Measurement | Specification |
|
“U” Slat M10 Hardware | Torque | 73 N·m (54 lb-ft) |
|
Chain Link M8 Cap Nuts | Torque | 25 N·m (18 lb-ft) |
IMPORTANT: When installing connector links, cap nuts must be
oriented away from drum rings. When chain link cap nuts
(D) are torqued to specification, gap (E) should exist between connector
link sidebar (C) and cap nut.
|
|
OUO6075,00008A9-19-20080327
|
|