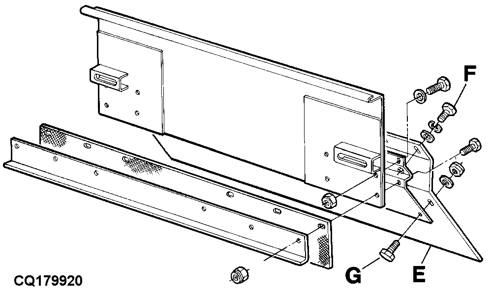
Cylinder Baffle

IMPORTANT: Before harvesting corn, remove the cylinder baffle (E) located inside the inspection port.

Baffle (E) is attached by hex bolts (F) and (G).

CQ179920

AG,GG05155,319 -19-24FEB99-1/1