Rear Wheel Alignment

Whenever combine becomes difficult to steer or rear tires begin to wear unevenly, check rear wheel alignment.

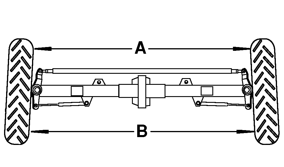
1. On a flat surface, straighten rear wheels.

2. Mark a point at the upper center part of each tire. Measure distance (A).

3. Drive Combine half turn back (180°), that is, marks on tires are now at lowest part of wheel.

4. Measure distance (B). It should be 10 mm (0.4 in.) greater than distance (A).

5. To adjust, loosen locknuts at both ends of tie rod and adjust tie rod length.

CQ282061


A-Distance
B-Distance

AS60558,000120D -19-29JAN09-1/2


Four-wheel drive combines:

Distances (C and D) must be equal.

Adjust by loosening bolts (A) of steering rod (B).


A-Bolts
B-Steering rod
C-Distance
D-Distance

CQ282062

Upper view - Alignment check points

CQ219121

AS60558,000120D -19-29JAN09-2/2