Checking Engine Fan Belt Tension

Tensioner Spring Tension

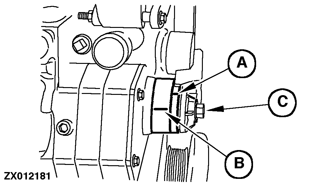
1. Remove belt from tensioner pulley.

2. Put a mark (A) on swing arm.

3. Put a mark (B) 20 mm (0.79) from mark (A).

NOTE: The torque wrench should be aligned with the tensioner pin.

4. Turn swinging arm with torque wrench until marks are aligned.

5. The torque wrench should indicate 20 N·m (14.8 lb-ft).

IMPORTANT: The automatic belt tensioner is designed to maintain proper belt tension over the service life of the belt. If tensioner spring tension is not within specification, replace tensioner assembly.

NOTE: If torque is correct, check "Belt Wear".

ZX012181
ZX009262

ML70882,000095E -19-31MAY06-1/2


Belt Wear

The belt tensioner is designed to operate within the arc limits defined by the cast stops (A and B).

If the spring tensioner has the correct tension and swing arm cast stop (A) touches fixed cast stop (B), replace belt. See "Replacing Engine Fan Belt".

ZX009274

ML70882,000095E -19-31MAY06-2/2