Install Guard Rails

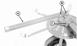
1. Remove plastic plugs from outer rotor housing. Install right-hand guard support (A) on front side of rotor housing. Fasten with two M12 x 25 cap screws (B), lock washer, and 15/32 x 0.180 in. washer.

2. Remove and retain M12 x 35 cap screws (C) and lock washers.


A-Guard Support
B-Cap Screw, M12 x 25 (2 used)
C-Cap Screws, M12 x 35

E36763

Right-Hand Side Shown

OUO6059,00004BB -19-31MAY02-1/3


3. Install guard rail (A) through guard support (B). Fasten with M10 x 55 cap screw (C) and lock washer. Install two M12 x 35 cap screws (D) and lock washer.


A-Guard Rail
B-Guard Support
C-Cap Screw, M10 x 55
D-Cap screw, M12 x 35 (2 used)

E36764

Right-Hand Side Shown

OUO6059,00004BB -19-31MAY02-2/3


4. Slide guard rail (A) onto drawbar frame. Fasten with M8 x 45 cap screw and lock nut (B).

5. Repeat procedure on left-hand side.


A-Guard Rail
B-Cap screw, M8 x 45

E36777

Right-Hand Side Shown

OUO6059,00004BB -19-31MAY02-3/3