Adjusting Take-Up Arm Compression Springs

If springs have been replaced or stop nuts have been removed, adjust springs as follows:

1. With empty baler, close the gate and lower tension arm. Remove any wrappage or buildup on rolls.

2. If forming belts are installed, go to Step 4.

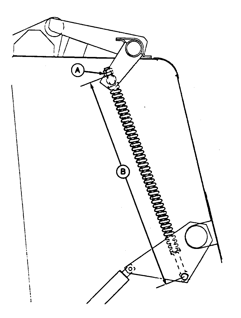
3. If installing springs on baler without out forming belts installed, adjust stop nuts (A) until dimension (B) is within specifications.

Specification

Take-Up Arm Compression Spring -Length 998 ± 1.5 mm (39.3 ± 0.04 in.)


A-Stop Nuts
B-Dimension

E36256

AG,OUO6017,1730 -19-10NOV99-1/2


4. With forming belts installed, adjust stop nuts until gap (A) between nut and pivot is within specifications.

Specification

Nut-to-Pivot -Gap 8-12 mm (0.315-0.472 in.)

5. Engage tractor PTO, raise and lower tension arm.

6. Check gap (A) on right and left-hand springs. Adjust if necessary.


A-Gap

E39705

AG,OUO6017,1730 -19-10NOV99-2/2