Adjusting Oversize Bale Switch

1. Close and latch gate.

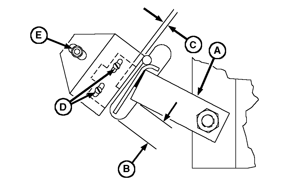
2. Raise oversize bale lever (A) to dimension (B) above lower end of slot.

Specification

Lever-to-Lower End of Slot -Dimension 13 mm (0.512 in.)

NOTE: Gate must be closed for oversize bale indicator to be displayed.

3. Check bale lever-to-switch roller contact point. The switch contacts should be closed (OVERSIZE BALE indicator/alarm must be activated on the monitor-controller) and clearance (C) between switch arm and switch body within specifications.

Specification

Switch Arm-to-Switch Body -Clearance 0.79-2.38 mm (0.030-0.100 in.)

4. If necessary, loosen switch screws (D) and/or bracket cap screw (E). Position switch so bale lever contacts roller at point shown.

IMPORTANT: Switch or switch bracket must not interfere with bale lever at any point of lever travel or damage to switch may occur.

5. Raise lever to the top of slot to check for interference and binding. Adjust switch if necessary.

6. Confirm switch operation by taking test readings using monitor-controller. (See TESTING GATE LATCH AND OVERSIZE BALE SWITCHES [CHANNEL 13, 14 AND 15] in this section.)

E48030


A-Lever
B-Dimension, 13 mm (0.512 in.)
C-Clearance
D-Switch Screws
E-Cap Screw

AG,OUMX005,1549 -19-03AUG00-1/1