Positioning Lower Hitch Pins

E44255

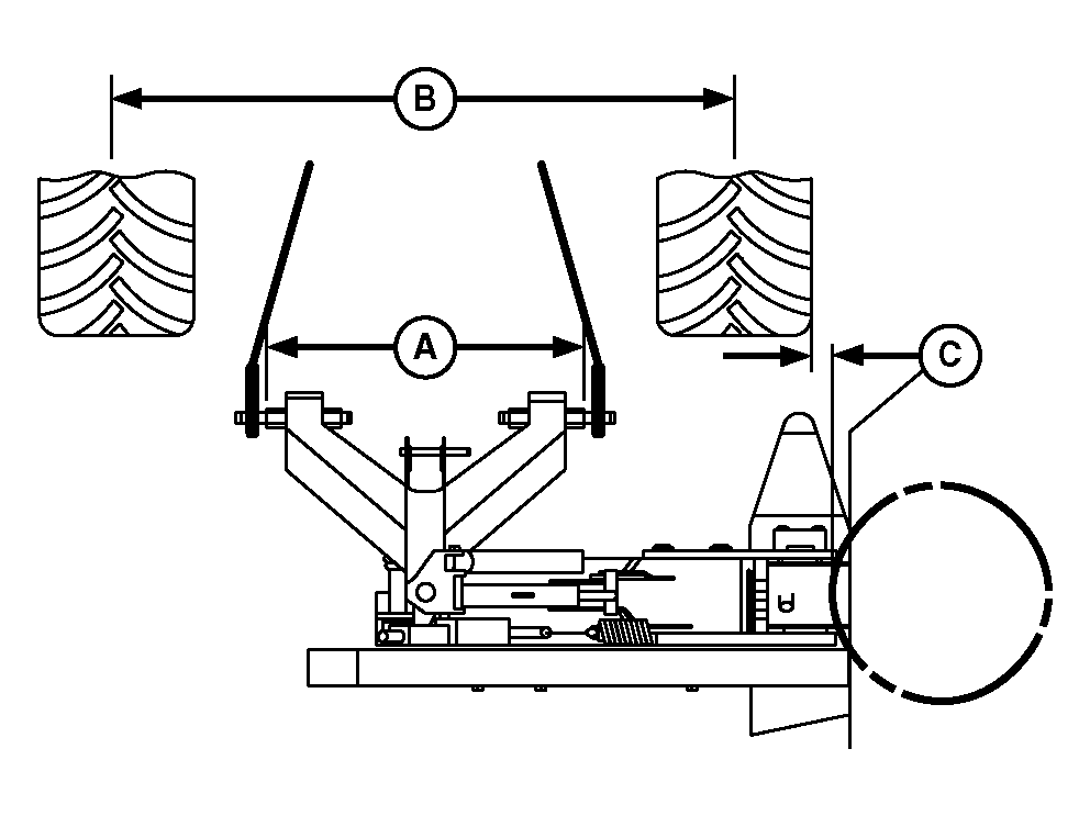
Centered

E44256

Right-Hand Offset

Mower is equipped with adjustable lower hitch pins which allow Mower to be offset 50 mm (2 in.) (C) left or right, to accommodate various tractor wheel track widths.

An extended left-hand hitch pin is available, allowing for an additional 200 mm (8 in.) offset. Pin can be ordered through your John Deere dealer. (See Attachments section.)

1. Measure rear tractor tire center-to-center distance (B). Adjust hitch pins according to chart below.

2. Keep approximately 825 mm (32-1/2 in.) (A) between hitch pins in all positions.

Distance (B)
mm (in.)
Hitch Pin Position
1321 (52) Right-Hand Offset
1499 (59) Centered
1651 (65) Left-Hand Offset
More than 1651 (65) Left-Hand Offset-Extendeda
aExtended left-hand hitch pin cannot be used if tractor is equipped with a Quick-Coupler hitch.

 

If distance (B) is more than 1651 mm (65 in.);

  • Remove right-hand hitch pin and reinstall in opposite direction. Tapered end facing toward centerline of hitch.
    E44257

    Left-Hand Offset

    E44258

    Left-Hand Offset-Extended

AG,OUMX005,282 -19-09JUL04-1/3


  • Remove left-hand hitch pin and install extended hitch pin 1

1Extended left-hand hitch pin cannot be used if tractor is equipped with a Quick-Coupler hitch.

AG,OUMX005,282 -19-09JUL04-2/3


    To adjust hitch pins:

        1.

        Loosen four cap screws (A).

        2.

        Slide hitch pin (B) to desired position.

        3.

        Tighten cap screws to specifications.

      Specification

      Cap Screws (A) -Torque 119 N·m (88 lb-ft)

        4.

        Repeat procedures on other side.

        IMPORTANT: Check cap screw torque after first 10 hours of use.

    E44259


    A-Cap Screw (4 used)
    B-Hitch Pin

AG,OUMX005,282 -19-09JUL04-3/3