Attaching Mower Hitch to Tractor Quick-Coupler Hitch

causym CAUTION: To avoid bodily injury or machine damage whenever an implement is attached, put transmission in PARK position and check the full range of hitch for interference, binding or PTO separation.

Do not stand between tractor and implement.

NOTE: A special bracket must be installed on mower hitch to be able to attach to tractor Quick-Coupler hitch. (See INSTALLING HITCH BRACKET [QUICK-COUPLER HITCH] in Preparing the Mower section.)

John Deere 7000 Series tractor shown throughout procedure.

1. Turn tractor load/depth control fully counterclockwise (A).

IMPORTANT: Contacting mower hitch pins with latch handles in locked position may result in damage to the latch mechanism.

2. Pull up on coupler latch handles (B).

RW21226
RW55144


A-Load/Depth Control Position
B-Coupler Latch Handles

AG,OUMX005,285 -19-09JUL04-1/5


causym CAUTION: To prevent possible injury, use ONLY hitch control lever (A) when attaching implements. DO NOT use raise/lower switch (B).

3. Lower hitch until quick-coupler hooks are lower than mower hitch pins.

4. Back up tractor to align with mower hitch pins.


A-Hitch Control Lever
B-Raise/Lower Switch

E41376

AG,OUMX005,285 -19-09JUL04-2/5


5. Raise quick-coupler hitch (A) high enough to engage mower hitch pins in hooks.

6. Engage tractor parking brake and/or place transmission in "Park".

7. Shut off tractor engine and remove key.

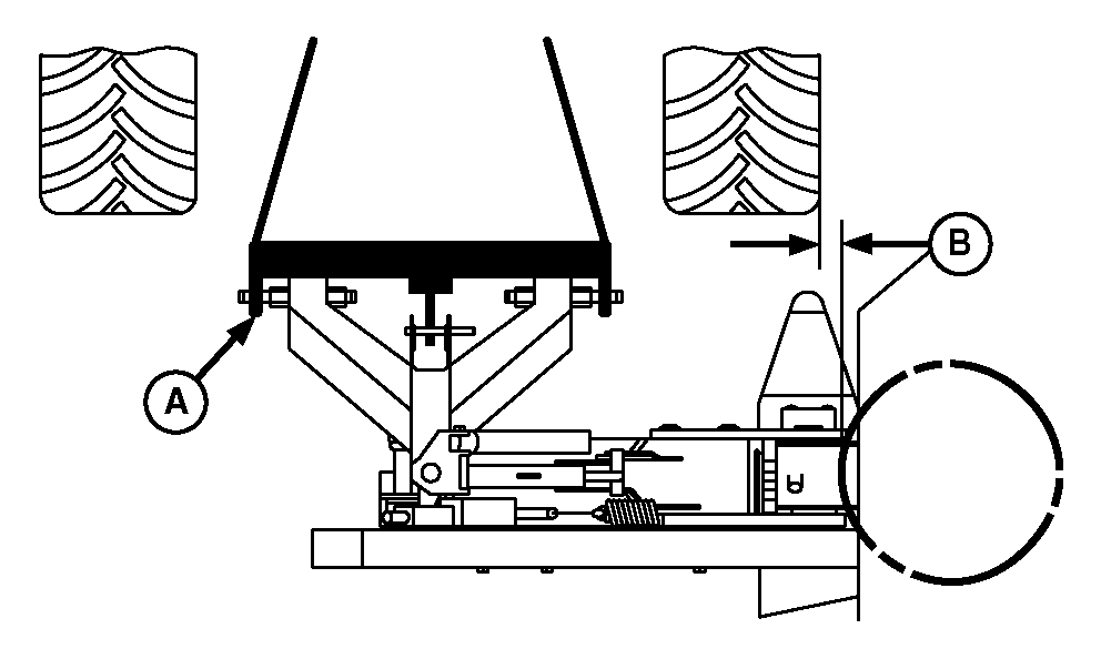
8. Reposition mower lower hitch pins, if necessary. Make sure a clearance (B) is held for a full cut of the cutterbar at all times. (See POSITIONING LOWER HITCH PINS in Preparing the Mower section.)

Specification

Tire-to-Knife Cutting Edge -Clearance (B) 50 mm (2 in.)

E44311

Hitch Pins-Centered


A-Quick-Coupler Hitch
B-Clearance

AG,OUMX005,285 -19-09JUL04-3/5


9. Push both coupler latch handles (A) down to lock mower to quick-coupler hitch.

10. Attach PTO driveline, hydraulic hose and pull-rope. (See procedures in this section.)

11. Raise mower using tractor rockshaft/hitch control lever.

12. Engage tractor parking brake and/or place transmission in "Park".

13. Shut off tractor engine and remove key.


A-Latch Handle

RW55145

AG,OUMX005,285 -19-09JUL04-4/5


14. Fold parking latch (A) up until locked in disengaged position.

15. Adjust tractor center link, lift links and lateral float. (See procedures in your tractor Operator's manual.)

16. Adjust hitch operating height. (See ADJUSTING CUTTERBAR HEIGHT in Operating the Mower section.)


A-Parking Latch

E44310

AG,OUMX005,285 -19-09JUL04-5/5