Every 24 Hours (Daily)

Gear Case-Checking Oil Level

1. Park mower on level ground with cutterbar in field/operating (horizontal) position.

2. Remove check/drain plug (B) to check oil level. Oil should be level with bottom of port.

NOTE: Gear case oil capacity is 0.45 L (1 pt).

3. Add oil as necessary:

a. Remove fill plug (A).

b. Add SAE 80W with API service classification GL-4, or equivalent. (See CUTTERBAR AND GEAR CASE OIL in this section.)

c. Apply pipe sealant with TEFLON ® , or equivalent, on threads of plugs (A and B).

d. Install plugs.

If necessary to drain oil, see EVERY 200 HOURS in this section.

E44353


A-Fill Plug
B-Check/Drain Plug

TEFLON is a trademark of the DuPont Company.

AG,OUMX005,317 -19-09JUL04-1/2


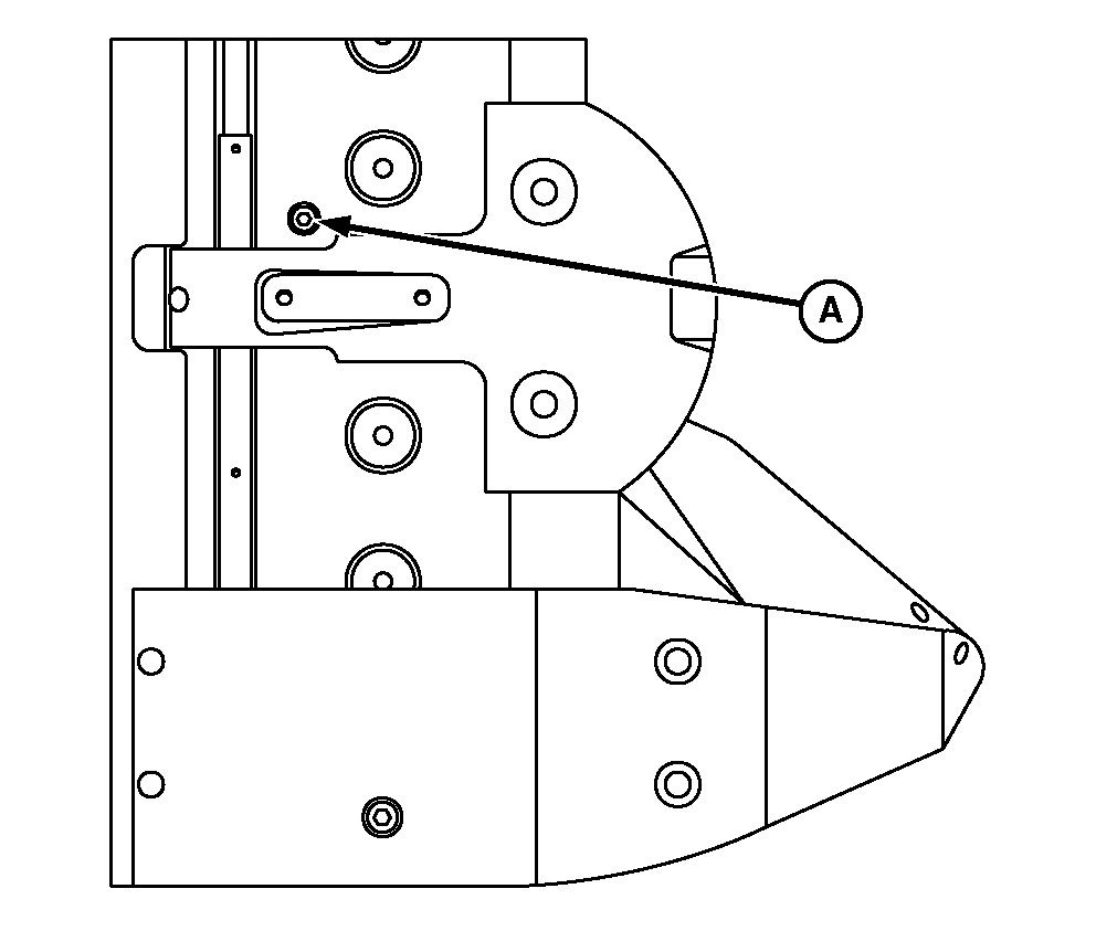
Cutterbar-Checking Oil Level

NOTE: Mower will need to be attached to tractor to check cutterbar oil level.

1. Park tractor on level ground.

2. Raise cutterbar to transport (vertical) position. (See Transporting section.)

3. Remove check/fill plug (A) to check oil level. Oil should be level with bottom of port.

NOTE: Cutterbar oil capacity is as follows:

  • 265 and 275-2 L (4.25 pt)

  • 285-2.25 L (4.75 pt)

4. Add oil as necessary:

  • Add SAE 80W with API service classification GL-4, or equivalent. (See CUTTERBAR AND GEAR CASE OIL in this section.)
  • Apply pipe sealant with TEFLON ® , or equivalent, on threads of plug (A).
  • Install check/fill plug.

If necessary to drain oil, see EVERY 200 HOURS in this section.

E44314


A-Check/Fill Plug

TEFLON is a trademark of the DuPont Company.

AG,OUMX005,317 -19-09JUL04-2/2