Checking Knife Wear

Reverse knife when cutting edge (A) is worn to center of knife (B).

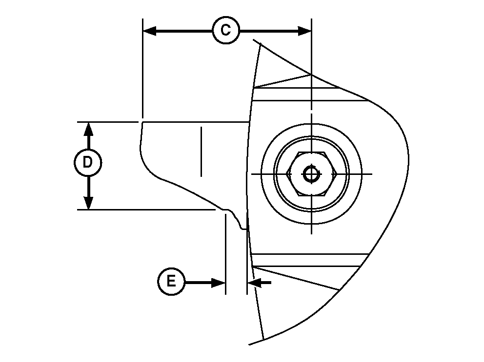
Replace knife when:

  • Both cutting edges are worn to center of knife
  • Length (C) is less than 65 mm (2-9/16 in.)
  • Width (D) is less than 34 mm (1-5/16 in.) at 10 mm (3/8 in.) (E) away from disk edge


A-Cutting Edge
B-Center of Knife
C-65 mm (2-9/16 in.)
D-34 mm (1-5/16 in.)
E-10 mm (3/8 in.)

E37250
E44324

AG,OUMX005,328 -19-12OCT98-1/1