Installing Knives

E44320


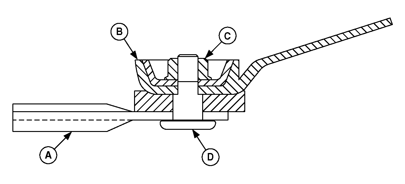
A-Knife


B-Disk


C-Lock Nut


D-Knife Bolt

causym CAUTION: If nut is installed incorrectly, it cannot be tightened sufficiently, which may lead to loss of knife and bolt during operation, causing personal injury.

IMPORTANT: Always use genuine John Deere knives. Replace each special knife bolt and special lock nut when it has been removed and reinstalled five times.

1. Clean mounting area.

2. Install knife (A), with bevel on bottom. Fasten with knife bolt (D) and lock nut (C). Make sure knife bolt

is correctly seated in groove. The bolt flats must align with the hole flats in disk (B). Bolt mark will be aligned with disk center line.

3. Tighten knife bolt to specifications.

Specification

Knife Bolt -Torque 122 N·m (90 lb-ft)

4. Make sure knife rotates freely on the bolt.

AG,OUMX005,331 -19-12JUL04-1/1