|
4.
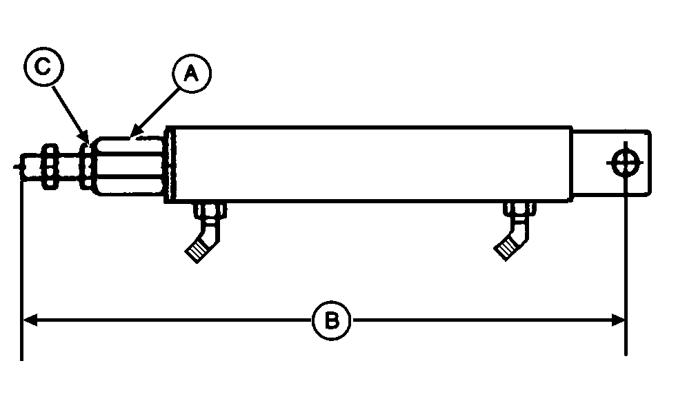
Install base end of cylinder and fasten with cap screw and lock nut (A). Do not overtighten, cylinder must be free to pivot.
5.
Connect hydraulic hoses (B).
6.
Start tractor engine and operate twine arm through several complete cycles, using tractor hydraulics, to bleed air from cylinder.
7.
Adjust position of twine arm to right sidesheet. (See ADJUSTING TWINE ARM DISTANCE FROM RIGHT SIDESHEET in this section.)
8.
Adjust twine cutter tension. (See ADJUSTING TWINE CUTTER TENSION in this section.)
|
A-Cap Screw and Lock Nut
B-Hydraulic Hoses
|